立式空调内机结构图解

空调结构示意图(空调机的结构及工作原理详解)
图片尺寸2267x1263
空调的原理结构和分类命名及维修保养
图片尺寸509x562
求空调内部结构
图片尺寸384x430![[分享]空调器与中央空调系统常识](https://imgs.wantubizhi.com/img/735A5D1F980B52A636CC46F12F2D1A73D1539A00794E7C75EA005B1DCDA90D0E0BAE856202C3175C2C716A203C772F6DBD5822ABE5E358857D18AECF4123332A9575B6C9E6593FE1B3ADC452EE7E66A029D6CD18D3387C6B80644CB2F37E10AB)
[分享]空调器与中央空调系统常识
图片尺寸683x518
空调结构图
图片尺寸744x992
三洋sah-c507空调说明书
图片尺寸421x459
cn201181055y_柜式空调室内机失效
图片尺寸1437x1822![科龙空调柜机kf-72lw/vkf-n3使用安装说明书:[1]](https://imgs.wantubizhi.com/img/ADDA3C5D760C6828B77B505A29D43E83DE04F866D61554E782DE0AEFE7DAAE735AE270935021082B5E5A808821CB321F955080A0F417BBA16851F0C5A051899475E33BE9409177992A69A1CBDBAC7BE082B7FAF530CCA874C9DE6428EFEDB600)
科龙空调柜机kf-72lw/vkf-n3使用安装说明书:[1]
图片尺寸2064x2914
空调室内机和空调器
图片尺寸1554x2192
第二章 冷暖设备的结构及作用 第一节 家用空调的结构及作用
图片尺寸3078x1382
分体柜式空调器安装事项_手机搜狐网
图片尺寸900x1521
cn101498480b_空调机的室内机有效
图片尺寸2223x1114
格力柜式空调器室内机的安装方法
图片尺寸710x487
格兰仕变频空调价格_格兰仕立式变频空调价格_格兰仕变频空调拆解
图片尺寸595x411
空调的原理结构和分类命名及维修保养
图片尺寸582x487
空调室内机的制作方法
图片尺寸1000x932
空调圆柱室内机拆装图解(技术贴)
图片尺寸640x394
立式空调室内机的制作方法
图片尺寸775x1000
简单快捷的取暖方式之空调_格力空调_家电小家电-中关村在线
图片尺寸640x544
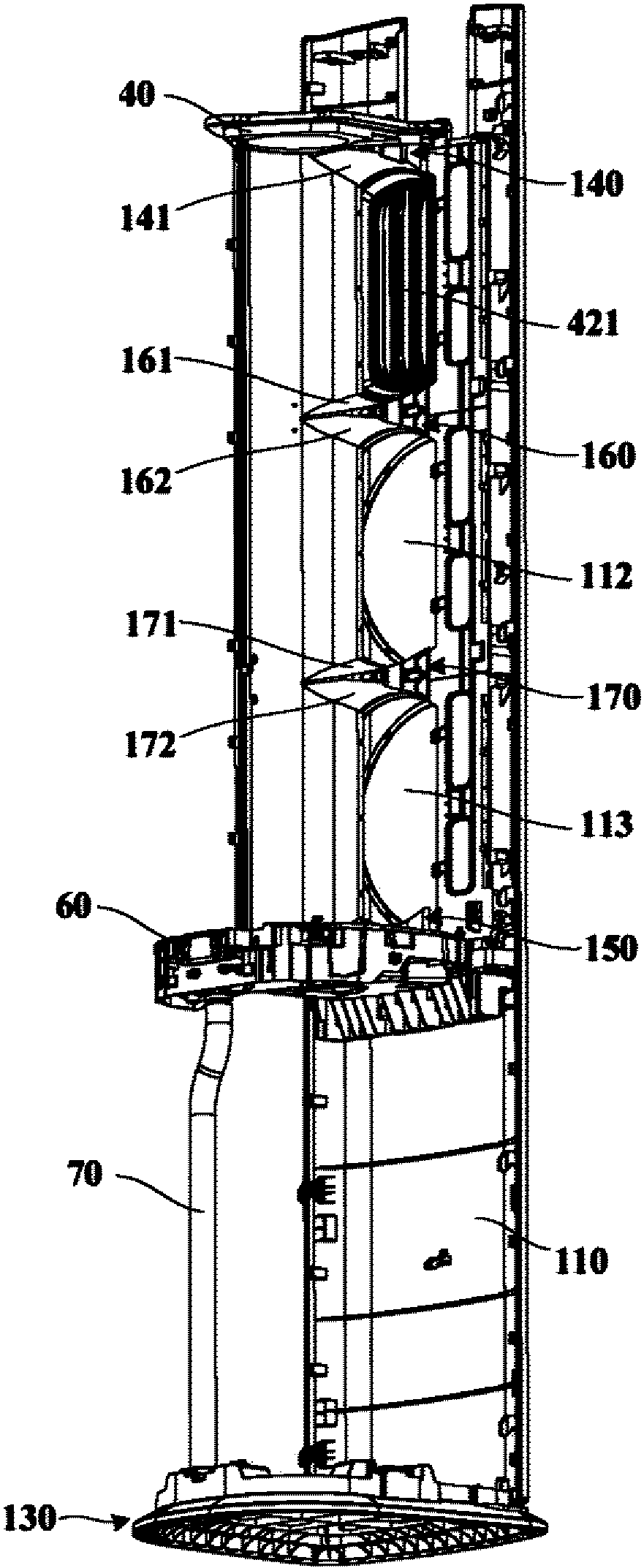
cn107726451a_立式空调室内机在审
图片尺寸881x2145