立式铣床结构

立式铣床铣削加工
图片尺寸630x662
实力厂家重型铣床xa5032立式铣床x52k全国联保
图片尺寸790x678
(铣床的工作原理等综合知识详解)
图片尺寸700x468
立式铣床_万能铣床_优质沈阳x62w万能铣床x6132w立式
图片尺寸500x411
如图2-4所示,立式升降台铣床的主轴是垂直安置,并可在纵向的垂直面内
图片尺寸407x355
立式铣床 x5040 升降台铣床 多功能铣床 厂家直销_铣床_机床_机械及
图片尺寸440x448
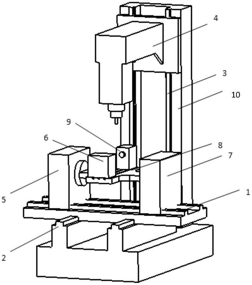
一种立式铣床的制作方法
图片尺寸837x1000
zx6332系列钻铣床的用途结构及特点
图片尺寸1280x960
x5032立式升降台铣床基本知识和原理二
图片尺寸600x545
普通铣床外形结构图
图片尺寸607x320
图片浏览
图片尺寸378x397
一种立式升降台铣床的制作方法
图片尺寸1000x989
x5040s立式升降台铣床 万能铣床 立铣 万能升降台铣床 天福厂家
图片尺寸811x1063
cn108098363a_一种立式炮塔铣床在审
图片尺寸1535x1481
立式数控铣床
图片尺寸595x384
数控立式铣床及控制系统设计(xk5040)
图片尺寸446x452
cn209035623u_一种用于线齿轮加工的专用立式数控铣床有效
图片尺寸886x1000
铣床第三章.ppt
图片尺寸960x720
木工铣床的结构及木工铣刀的安装使用方法
图片尺寸626x536
x62w型万能铣床电气故障检修方法
图片尺寸640x595