筒体撑圆器

手动螺旋撑圆器(asm/prt格式)
图片尺寸458x450
大直径筒体撑圆工装-爱企查
图片尺寸448x472
手动螺旋撑圆器(asm/prt格式)
图片尺寸470x444
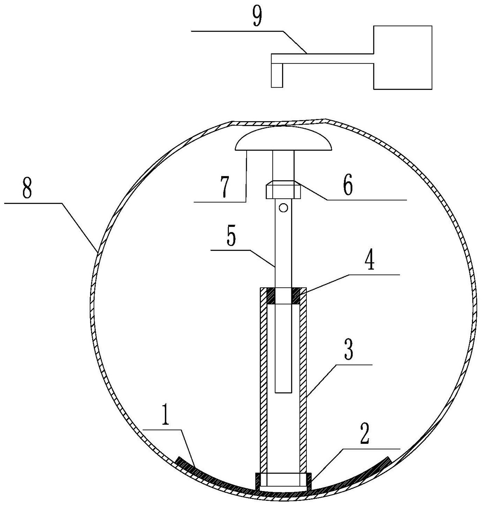
cn112742903a_一种用于金属制品加工的筒体撑圆装置
图片尺寸1384x1365
中信重工让洛阳造大国重器扬名海外
图片尺寸700x476
干货收藏,铝合金筒体fsw焊接变形控制|【搅拌摩擦焊宣传推广月】_mm
图片尺寸1063x950
1mm以内,以滚圈垫板外圆为基准找中心,再进行环缝和透光板的加工.
图片尺寸666x889
大型筒体液压内撑 西藏焊接机器人使用方法
图片尺寸360x962
一种同步均力等速变径筒体内撑圆机构-爱企查
图片尺寸1355x1510
一种大直径筒体加工用撑圆装置的制作方法
图片尺寸1000x680
榫木工圆aysv9jt7木连接件拼接三打合一孔定位家器具定制辅助定位
图片尺寸800x800
一种可用于不同直径筒体内凹撑圆装置-爱企查
图片尺寸1587x1663
three layers sawdust drum dryer
图片尺寸800x600
圆mc-26脉冲除尘器
图片尺寸1024x768
cn206785994u_一种多用途筒体内部支撑装置有效
图片尺寸494x507
发明快速精准撑圆器实审我要购买
图片尺寸1284x1286
筒体壁厚2mm,直径最大约2m.
图片尺寸1600x1200
36kj高速液压夯实机的底座为什么是圆的?
图片尺寸1289x967
一种齿圈校圆方法及工装-爱企查
图片尺寸525x521
一种用于金属制品加工的筒体撑圆装置的制作方法
图片尺寸1000x760