简易折弯机结构图

电液伺服数控折弯机结构详解
图片尺寸1385x1976
we67k-数控折弯机
图片尺寸719x490
折弯机工作示意图
图片尺寸484x367
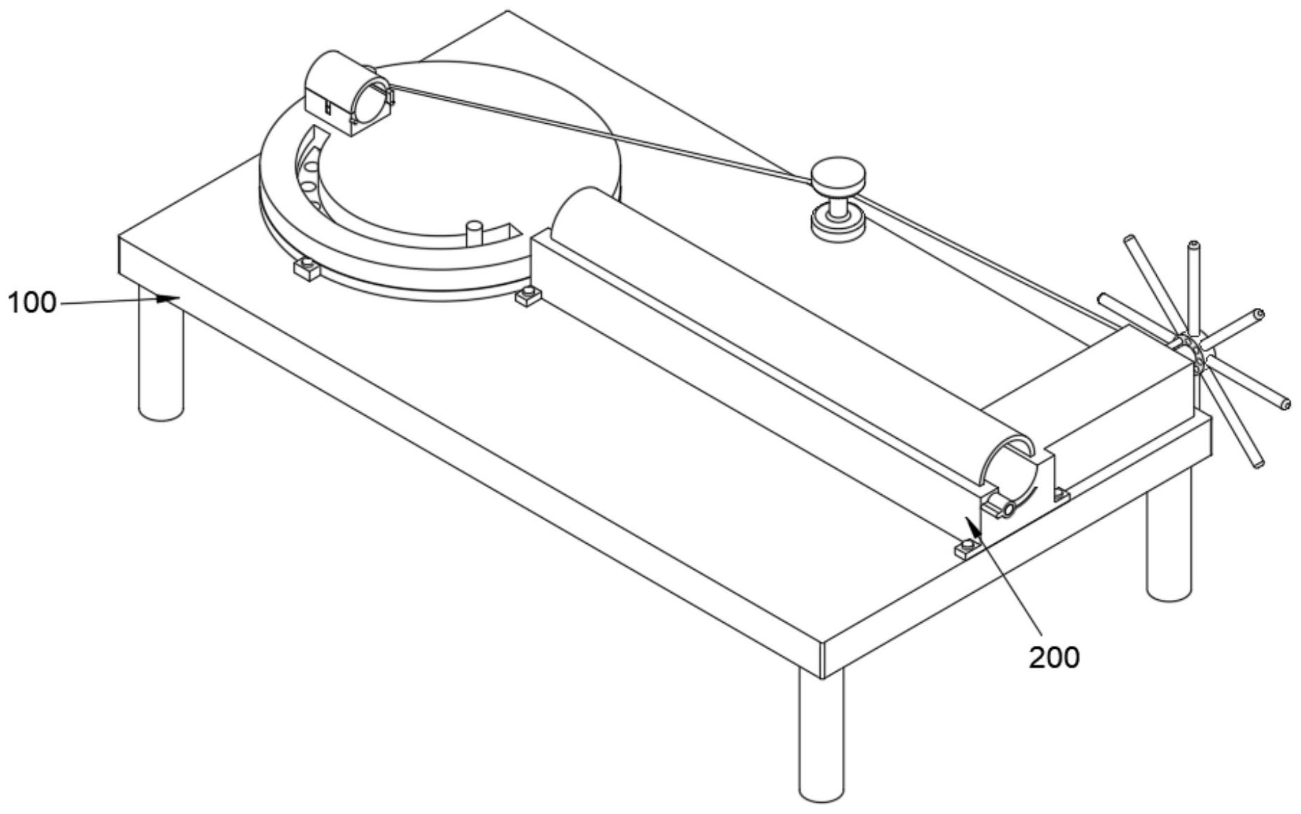
背景技术:折弯机是一种能够对薄板进行折弯的机器,其结构主要包括支架
图片尺寸1000x635
一种新型高效液压弯管机
图片尺寸1887x1850
机械加工机床金属加工设备的制造及其加工应用技术
图片尺寸859x1000
swg22b弯管机
图片尺寸701x593
板材液压折弯机的设计
图片尺寸841x594
弧形折弯机铁丝弯管机3d三维几何数模型结构简化电动机进给量可调
图片尺寸824x840
广州数控折弯机
图片尺寸520x700
根号上传动数控折弯机结构原理让你了解透彻
图片尺寸727x530
板材液压折弯机的设计【含cad图纸,说明书】
图片尺寸1200x800
薄壁管手动弯管机的结构图
图片尺寸689x456
一种弯管机的制作方法
图片尺寸987x1000
cn101474651a_一体化弯管机有效
图片尺寸2106x1650
液压板料折弯机的设计
图片尺寸820x520
一种液压板料折弯机
图片尺寸1000x726
cn112808888a_一种建筑施工用钢筋折弯机有效
图片尺寸1859x1163
一种钢筋弯折机的制作方法
图片尺寸1000x846
一种折弯机制造技术
图片尺寸800x1124