简易提升装置

垂直垃圾桶提升机
图片尺寸1920x2560
建筑施工用便于调节提升高度的物料提升装置
图片尺寸1731x1868
物品抬升装置
图片尺寸999x993
垃圾桶智能称重提升机 移动式液压缸电动移动升降机 可定制提升重量
图片尺寸750x1234
简易链条式提升机
图片尺寸507x679
家庭污水提升小型装置
图片尺寸755x755
提升机
图片尺寸1048x1461
企业产品展示
图片尺寸1000x1000
提升机挂桶提升机挂桶提升翻转机垃圾桶提升机小车提升机
图片尺寸1920x2560
垃圾桶提升机 移动式垂直倒料垃圾桶提升机 垃圾桶提升架
图片尺寸750x750
物料提升机漏料掉料轻松解决
图片尺寸600x900
提升装置
图片尺寸1000x613
慧采绞龙提升机 吊挂式电葫芦提升机 简易上下货提升机
图片尺寸856x856
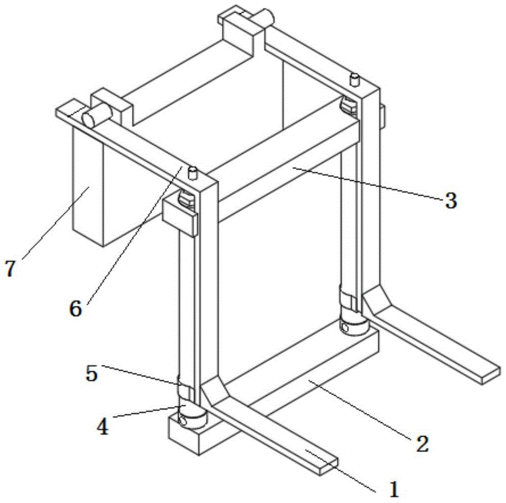
此外,压紧装置在运输中固定桅杆组件向上翻折的支腿和货叉可以取下
图片尺寸750x750
链条传送单斗提升机 简易式小型单斗喂料输送机
图片尺寸750x750
斗式垂直提升机安装择优推荐"本信息长期有效"
图片尺寸699x700
品牌好的提升机行情价格鹤岗提升机厂家
图片尺寸700x700
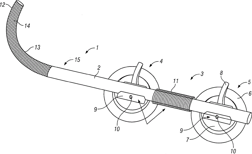
一种建筑装修用物料提升装置的制作方法
图片尺寸408x459
一种简易的货物提升装置的制作方法
图片尺寸856x1000
提升机图片
图片尺寸800x800