简易污水净化装置图

移动式废水净化装置
图片尺寸2015x1622
一种生态式污水净化池的制作方法
图片尺寸1000x551
一种一体化净水器的制作方法
图片尺寸1000x580
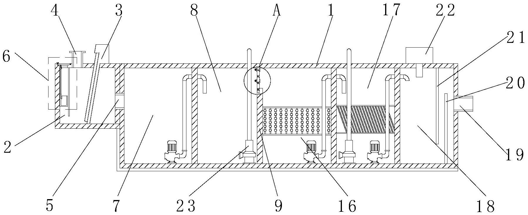
用于化工制备的污水分级净化处理装置的制作方法
图片尺寸1000x554
废水再利用净化装置
图片尺寸1878x2295
cn107721045a_一种生活污水净化装置在审
图片尺寸1875x767
一种高效垃圾资源化处理污水净化系统,其包括粗滤池,调节池,精滤装置
图片尺寸1664x1160
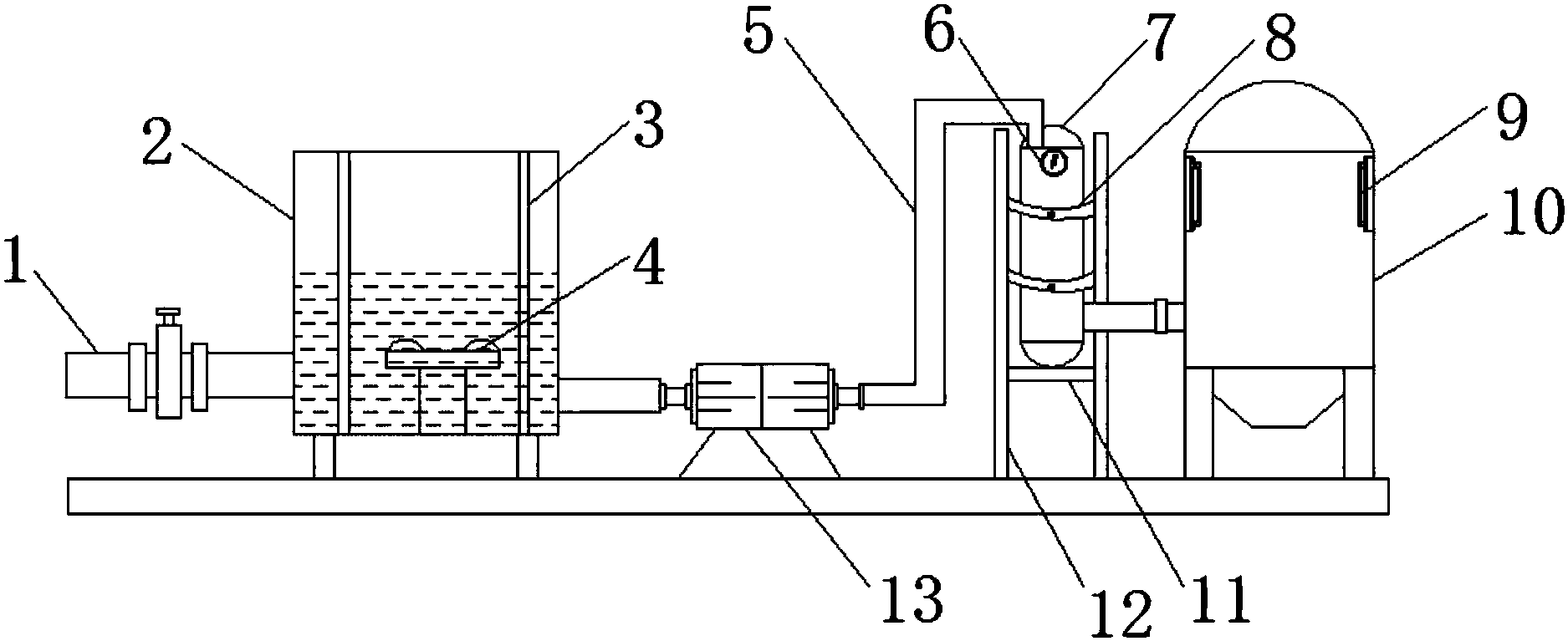
一种移动式废水净化装置制造方法及图纸
图片尺寸1000x803
生态式污水净化池
图片尺寸1904x838
一种具有除臭功能的污水环保净化处理装置的制作方法
图片尺寸638x1000
用于生活废水处理的净化装置
图片尺寸1654x1560
cn1065644a_污水净化装置失效
图片尺寸1856x2254
用于对污水进行过滤的过滤装置,用于对过滤净化后的污水进行消毒的
图片尺寸1363x1281
【推荐2】某兴趣小组在实验室模拟利用化学方法处理污水.
图片尺寸147x212
本实用新型公开了一种外产电内汇式水流人工湿地污水净化装置.
图片尺寸1595x1873
太阳能生活污水净化处理装置
图片尺寸1778x1309
污水净化处理装置的制作方法
图片尺寸913x1000
一种家庭废水净化处理装置的制作方法
图片尺寸1000x702
一种多级净化污水处理装置
图片尺寸1796x732
一种漂浮式表层污水快速净化装置
图片尺寸291x360