简易结构

一张简单的图片,带你认识房屋的构造
图片尺寸496x507
展开全部 c20h16 结构简式如图 向左转 向右转
图片尺寸370x301
所有对于机构运动无关的尺寸和结构都不予考虑,只需按影响机构运动的
图片尺寸949x1039
装配式混凝土框架结构体系
图片尺寸756x1000
一种钢结构梁柱框架装配式工艺
图片尺寸1930x1963
三聚氰胺的结构简式
图片尺寸765x598
分享多层框架结构图纸简单资料下载
图片尺寸760x570
13 框架结构1ppt
图片尺寸1080x810
cn206562739u_一种快速组装实木框架结构地暖炕失效
图片尺寸1000x723
求简易夹持结构的设计步骤,及其材料.
图片尺寸428x478
《海底两万里》"鹦鹉螺号"简易结构图 这是临摹的,如果不允许,我会
图片尺寸960x1280
快速安装的装配式钢结构体系
图片尺寸1721x1340
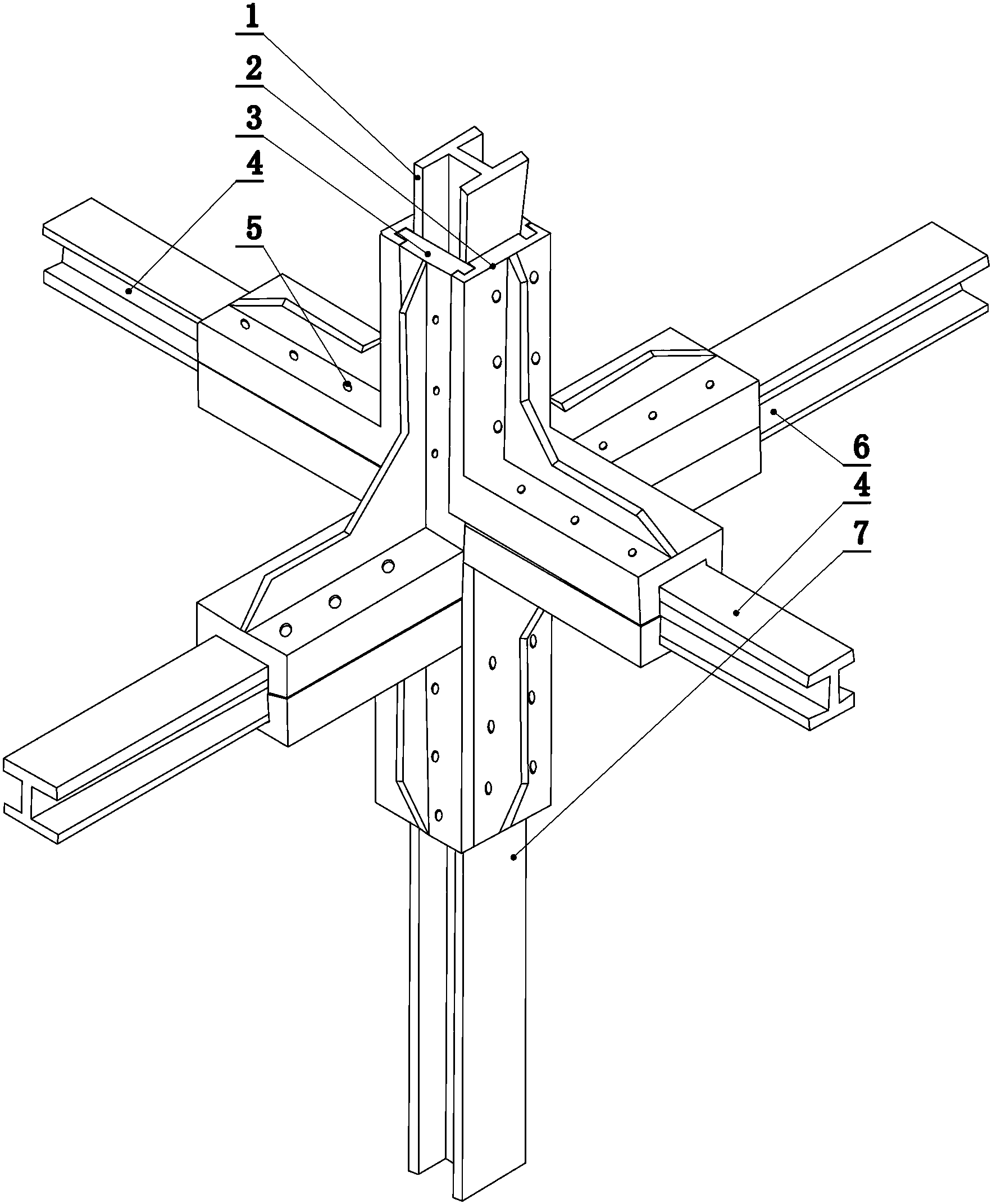
一种装配式建筑砼钢混合框架结构及装配方法
图片尺寸1923x1671
一体化装配式框架结构建筑体系
图片尺寸1940x1812
门式刚架轻型钢结构房屋设计分析2018
图片尺寸760x569
2.1 低层冷弯薄壁型钢房屋体系-村镇轻钢结构建筑抗震技术-科普
图片尺寸2426x2143
一种拼装式轻钢结构房屋框架
图片尺寸1811x1335
串联机器人的基本结构形式结构简图和工作空间
图片尺寸640x397
一种装配式钢结构建筑的装配结构
图片尺寸1766x2144
北美轻型(2x4) 轻木结构预制别墅
图片尺寸400x526