简易虹吸装置

利用化学实验室仪器能否制作虹吸壶呢
图片尺寸261x648
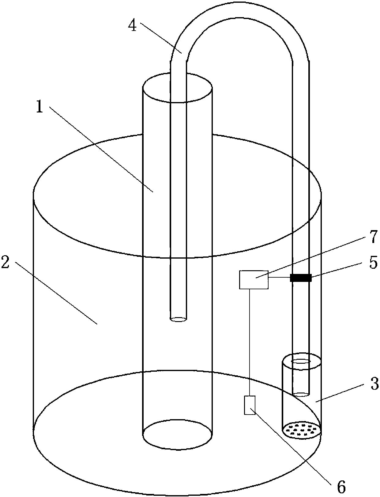
教你制作一个简单的"鱼菜共生"u型虹吸装置
图片尺寸640x853
自制虹吸装置 幼儿园儿童diy益智科学探索小实验科教具玩具教材
图片尺寸750x511
自制虹吸装置 幼儿园儿童diy益智科学探索小实验科教具玩具教材
图片尺寸750x750
如何用小孩子能听懂的话解释虹吸原理
图片尺寸539x455
魔力科学小实验有人说是虹吸有人说是大气压你觉得呢
图片尺寸660x372
虹吸式自动排水装置
图片尺寸941x1000
虹吸原理
图片尺寸181x202
虹吸吸附分离装置 004.jpg
图片尺寸2048x1536
自制虹吸装置 幼儿园儿童diy益智科学探索小实验科教具玩具教材
图片尺寸750x511
于我国水利工程中,小学员们在了解南水北调时,可动手制作简易虹吸装置
图片尺寸580x285
自己做了个自动换水的虹吸装置
图片尺寸1000x1333
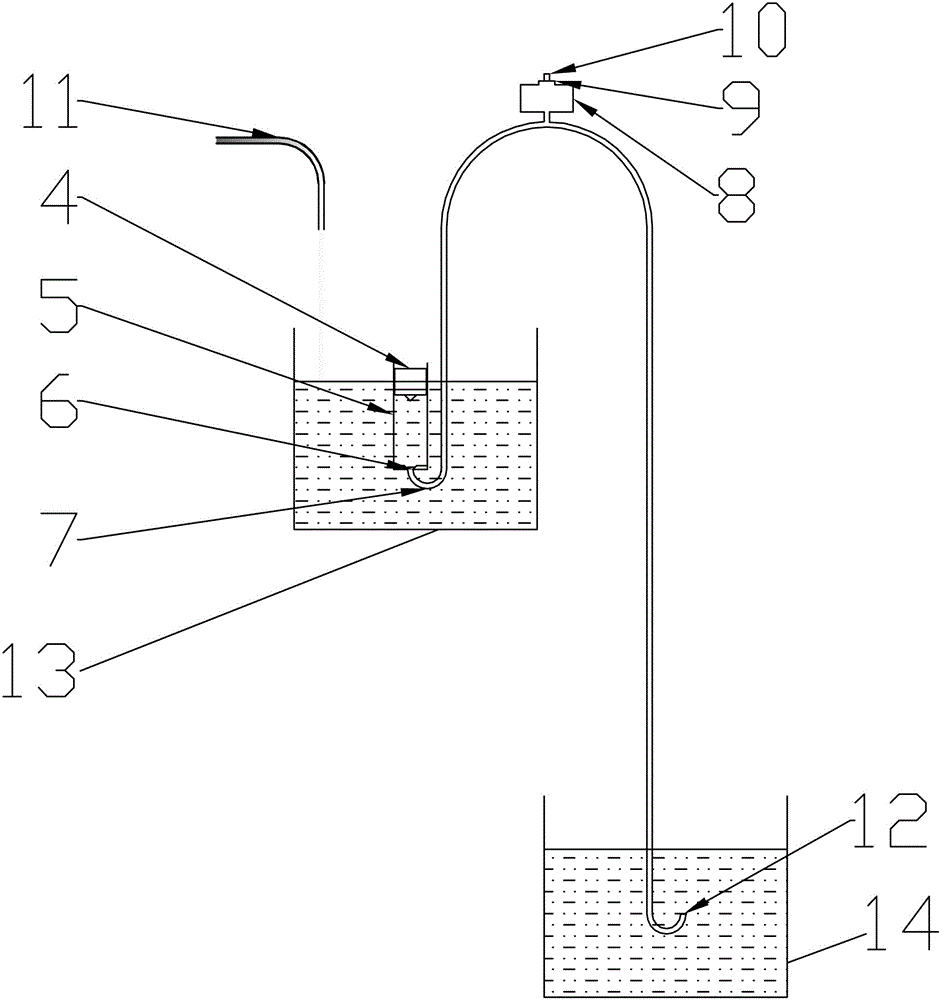
虹吸式自动浇水栽培装置
图片尺寸1241x1622
虹吸原理知识问答汇总
图片尺寸400x344
一种虹吸装置的制作方法
图片尺寸1000x782
倒吸喷泉手工diy科技制作虹吸现象科学兴趣科学实验
图片尺寸800x800
鱼菜共生diy10块钱搞定潮汐式虹吸装置实物图解
图片尺寸476x795
防虹吸试验装置
图片尺寸640x480
教你制作一个简单的"鱼菜共生"u型虹吸装置
图片尺寸640x480
lhx07虹吸演示虹吸演示实验装置
图片尺寸1020x1002