管道固定装置

安全,稳定,方便的气管插管固定器
图片尺寸942x942
装置,毕竟对于这种水管来说,如果安装有点小问题,极易造成管道发生
图片尺寸500x500
一次性体表导管固定装置经口气管插管固定装置导管固定装置
图片尺寸780x520
管道固定卡.jpg
图片尺寸4000x3000
岢岚物超所值的直埋管道输水装置
图片尺寸750x750
圆柱管道固定装置
图片尺寸1672x1478
管道固定管托 知足 滑动支座 导向管托 型号齐全 量大优惠
图片尺寸960x1280
变力弹簧支吊架,刚性吊架,减振装置,阻尼装置,固定支架等组成,是管道
图片尺寸600x449
引流导管固定装置
图片尺寸2000x1500
滑动支座固定支座管道支架整定弹簧组件恒力弹簧支吊架
图片尺寸500x667
陕西z71-z82异径双管固室支架咨询电话,z2 焊接固定支座_沧州齐鑫管道
图片尺寸600x400
159管夹固定支座厂家-沧州海润管道装备有限公司
图片尺寸600x449
变 电所的变配电装置中固定支持软导线,复导线及各种硬母线的金具
图片尺寸750x750
一种污水管道固定装置
图片尺寸1802x2087
>管道固定管托-管道支座生产厂家 管道管托-支座装置系列
图片尺寸2338x1080
管道固定支座恒力弹簧支座管卡临武
图片尺寸555x416
一种多管道连接用的固定装置
图片尺寸565x476
一种水利水电用管道固定装置
图片尺寸1849x1191
一种机器人管线包固定装置
图片尺寸1700x1559
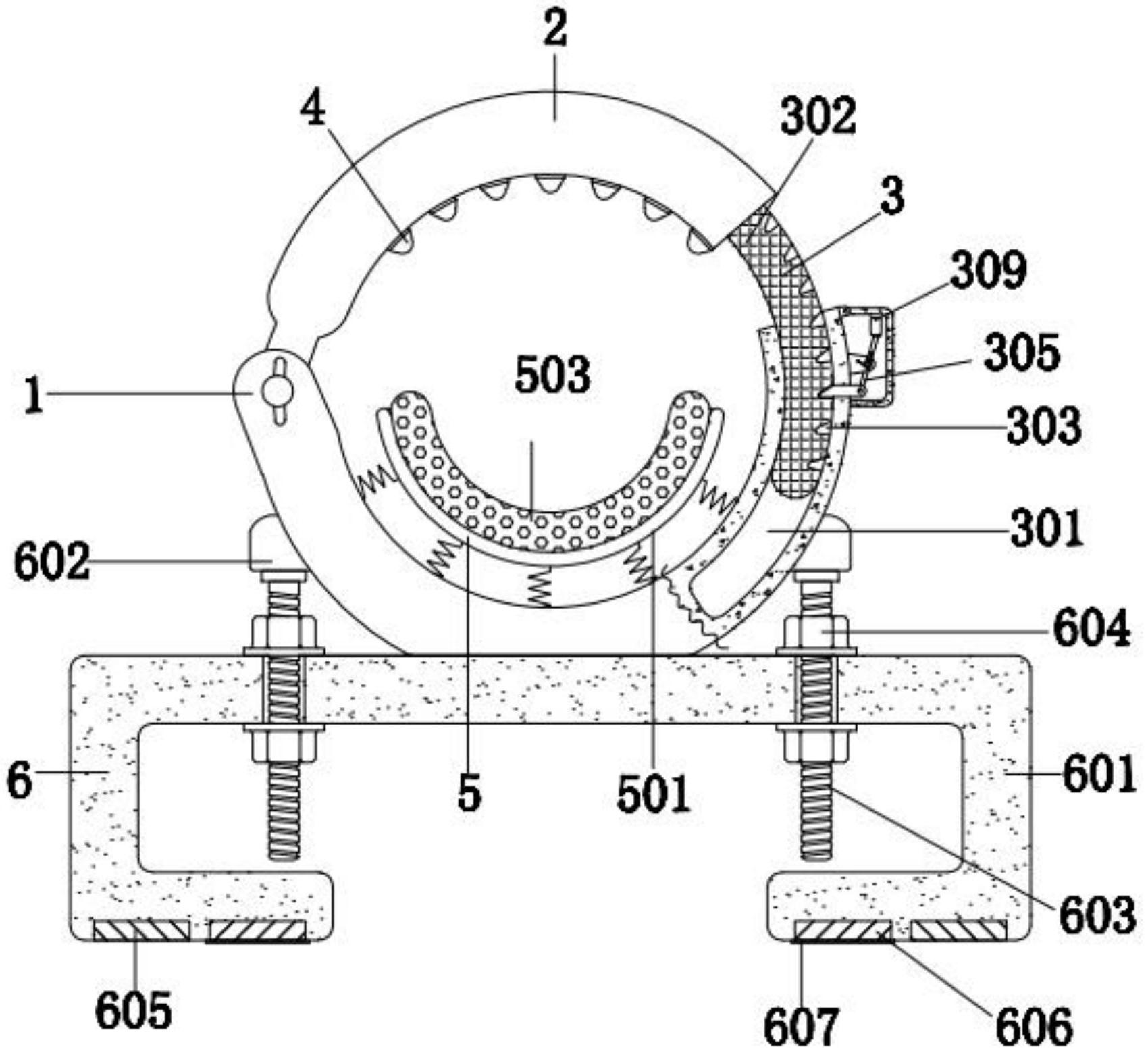
一种市政给排水施工用管道固定装置
图片尺寸1750x1876