管道运输简笔画

交叉的线条黑色线条手绘运输管道
图片尺寸600x479
运输管道简笔画管道的简笔画通气管简笔画所有的管道简笔画胶管简笔画
图片尺寸523x500
针管简笔画画法创意水管简笔画管子怎么画简笔画幼儿园水管简笔画管道
图片尺寸500x355
气力输送管道维护事项
图片尺寸1159x741
管道运输简笔画
图片尺寸409x500
一种水下管道运输系统的制作方法
图片尺寸730x617
cn108275064a_用于山区水利工程的管道运输装置在审
图片尺寸1577x962
管道交通运输简笔画
图片尺寸841x375
一种水下管道运输系统及其架设方法与流程
图片尺寸732x616
一种石油管道运输装置制造方法及图纸
图片尺寸983x1000
氢气输送管道
图片尺寸1000x866
一种烟气运输用管道
图片尺寸1540x1252
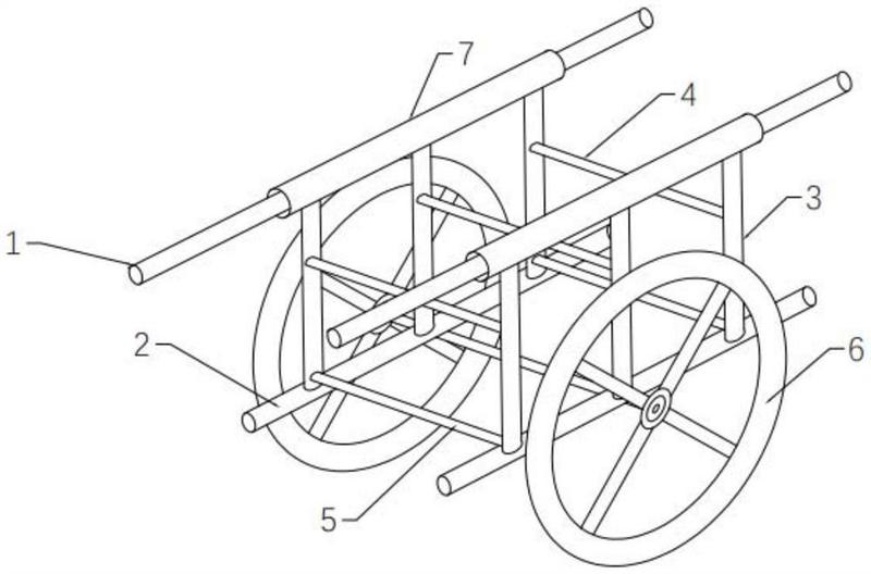
管道输送车的制作方法
图片尺寸1000x811
简笔画管道给排水简笔画qq红包简笔画水管运输管道简笔画
图片尺寸500x437
一种用于化工原料运输的管道结构的制作方法
图片尺寸996x1000
一种用于消防管道的运输设备
图片尺寸900x600
海底石油输送机器简笔画管道运输简笔画
图片尺寸500x769
一种用于运输消防管道的设备
图片尺寸900x600
一种排水管道转运装置-爱企查
图片尺寸800x528
一种用于消防管道的运输设备-爱企查
图片尺寸1749x1536