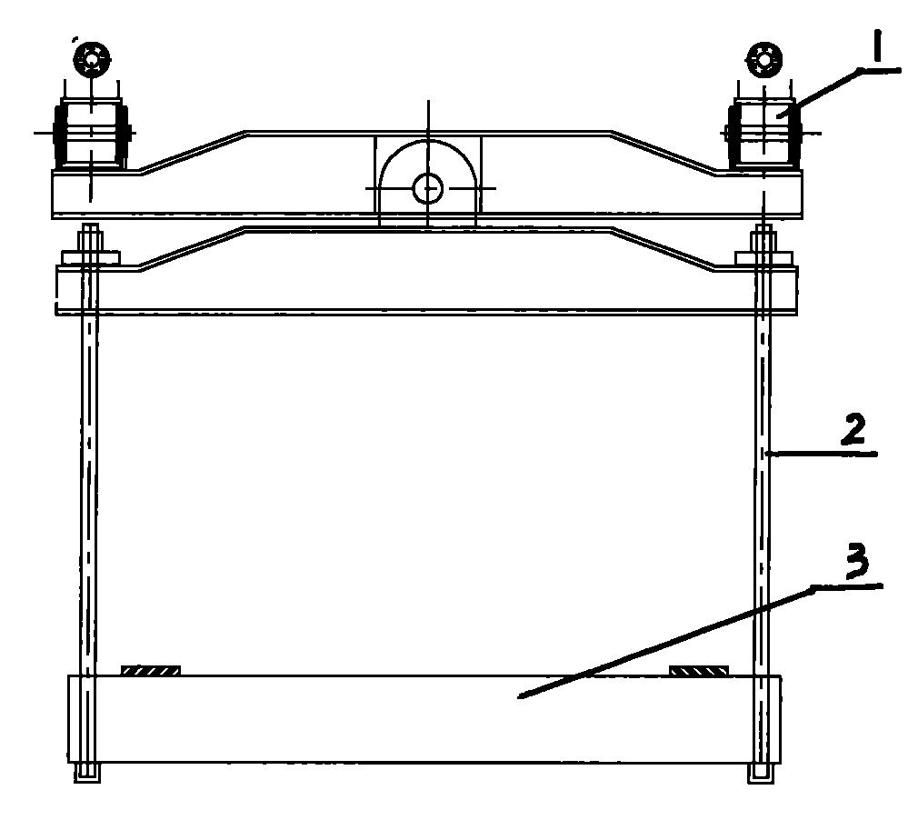
箱梁模板吊具设计图

箱梁钢模板吊具
图片尺寸1941x1776
一种防摇摆集装箱吊具的制作方法
图片尺寸1000x716
一种用于混凝土箱梁的吊具-爱企查
图片尺寸1652x2069
集装箱吊具
图片尺寸666x427
一种预制箱梁吊具-爱企查
图片尺寸1314x1302
一种预制t梁模板拆装吊具的制作方法
图片尺寸444x428
履带式吊车用箱梁吊具-爱企查
图片尺寸1781x917
55吨横梁吊具
图片尺寸681x448
箱梁钢筋吊装模架的制作方法
图片尺寸990x1000
50吨横梁吊具cad图纸
图片尺寸747x509
双梁大回转集装箱吊具的制作方法
图片尺寸1000x724
大吨位偏心箱梁的无级可调吊具-爱企查
图片尺寸1755x874
集装箱吊具
图片尺寸800x497
cn212559083u_一种用于t梁钢模板的吊装结构
图片尺寸1732x1637
摘要附图摘要本实用新型涉及一种大型箱梁兜底吊装装置,包括吊具,吊索
图片尺寸1010x902
箱梁悬挂吊具的制作方法
图片尺寸1000x473
cn101708802b_集装箱吊具有效
图片尺寸1682x1480
cn113044734a_一种面向集装箱的正面吊在审
图片尺寸2051x1769
一种建筑结构件吊具的制作方法
图片尺寸1000x812
箱梁提梁天车吊具模块化工装的制作方法
图片尺寸587x445