篮式研磨机原理图

研磨篮原理图
图片尺寸600x334
篮式研磨机的分散研磨过程
图片尺寸519x195
上海穗兴实验室研磨机实验室篮式研磨机
图片尺寸1278x537
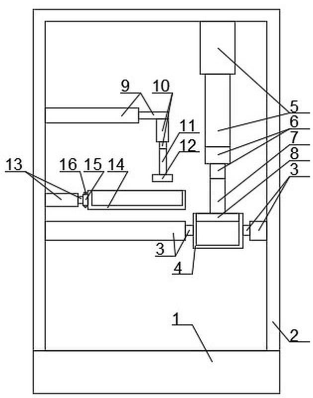
一种饲料处理用研磨机
图片尺寸1638x1569
ls篮式砂磨机
图片尺寸500x354
厂家直销实验室研磨机-篮式研磨机
图片尺寸800x800
ls系列篮式砂磨机
图片尺寸240x262
篮式砂磨机
图片尺寸1024x825
篮式研磨机及其研磨机构的制作方法
图片尺寸443x401
2-55篮式砂磨机交流单相和直流250v以上砂磨机水性涂料
图片尺寸750x833
三辊研磨机
图片尺寸552x280
一种闭式齿轮传动的精密双面研磨机的制作方法
图片尺寸1000x718
篮式研磨机工作原理为自吸叶轮高速吸料到研磨篮内极细的研磨再到分散
图片尺寸337x443
一种多功能研磨机的制作方法
图片尺寸855x1000
一种食品工业生产用五谷杂粮研磨机的工作方法
图片尺寸1566x2231
采用慢速电机的全自动研磨机的制作方法
图片尺寸718x1000
一种双面研磨机的制作方法
图片尺寸500x707
cn102715850a_一种全自动研磨机有效
图片尺寸747x1000
一种油墨涂料生产用篮式研磨机-爱企查
图片尺寸630x800
一种新型平面研磨机的研制与实验
图片尺寸993x1353