线轴结构

轴的设计ppt 第1页 (共8页,当前第1页) 你可能喜欢 机械设计 轴结构
图片尺寸1080x810
好的经济性轴系结构有良好的工艺性轴上零件在轴上准确定位与固定
图片尺寸670x327
轴的结构实例
图片尺寸1080x810
轴的结构设计1ppt
图片尺寸1080x810
第12章轴及其联接ppt
图片尺寸1080x810
轴的结构设计
图片尺寸529x461
钢丝软轴软轴的结构型式和规格
图片尺寸1126x646
轴的结构设计及计算ppt
图片尺寸1080x810
线轴塑料,收线轴生产厂家价格图 内宽d:100mm 外宽e:120mm 结构:一体
图片尺寸821x483
轴的结构设计作业(5)参考答案
图片尺寸487x319
机械设计基础轴结构改错1ppt
图片尺寸1080x810
传动轴设计及应用ppt
图片尺寸1080x810
轴的结构组成
图片尺寸728x308
第十二章 轴系结构设计ppt
图片尺寸1080x810
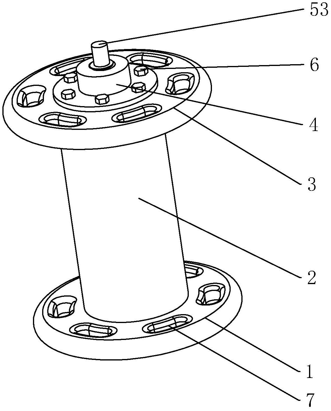
cn213568927u_一种塑料线轴的加强型结构有效
图片尺寸1115x1383
一种塑料线轴的加强型结构的制作方法
图片尺寸810x1000
轴类零件加工 一, 一, 概述 (一),轴类零件的功用与结构特点 1
图片尺寸1054x500
轴的结构 轴颈---轴上被支撑的部分,安装在轴承处 轴头---轴上安装
图片尺寸1080x810
背景技术:线轴是用于来缠各种线的轴状物,目前市场上的线轴结构都非常
图片尺寸783x1000
山东大学 机械设计 轴结构改错题目.ppt 24页
图片尺寸1152x864