结晶器结构

十种常见的工业结晶器结构原理介绍,一次让你了解透彻!
图片尺寸485x571
dtb型结晶器(10-10000)
图片尺寸500x500
低温冷冻连续结晶器oslo型
图片尺寸731x553
奥斯陆真空结晶器
图片尺寸402x513
十种常见的工业结晶器结构原理介绍一次让你了解透彻
图片尺寸547x297
结晶器
图片尺寸823x485
静态结晶器
图片尺寸1863x2414
冷却结晶器制造技术
图片尺寸817x1000
一种连铸管式结晶器
图片尺寸1724x1861
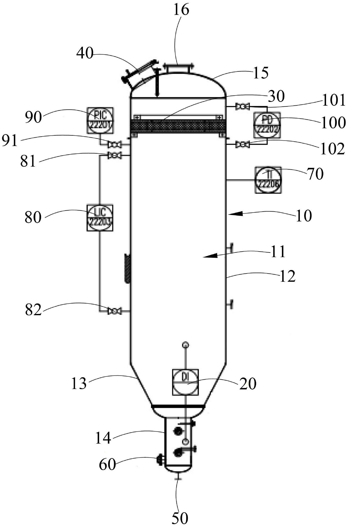
一种冷却结晶器
图片尺寸1514x2494
结晶器的结构变革 - 结晶王 - 工业结晶技术
图片尺寸960x720
十种常见的工业结晶器结构原理介绍一次让你了解透彻
图片尺寸503x629
工业结晶的方法及十种工业结晶器的结构原理详解一次让你了解透彻
图片尺寸672x712
冷却结晶器选型
图片尺寸790x599
搅拌结晶器
图片尺寸240x308
一种连续式结晶器制造技术,连续结晶器哪种结构好专利_技高网
图片尺寸475x1000
结晶器
图片尺寸1394x2110
cn201182916y_无旋撞击流换热式结晶器失效
图片尺寸1440x2369
二,晶胞 定义:晶体中重复出现的最基本的结构单元 三种典型立方晶体
图片尺寸1080x810
卧式结晶器
图片尺寸935x568