绕线电机接线原理图

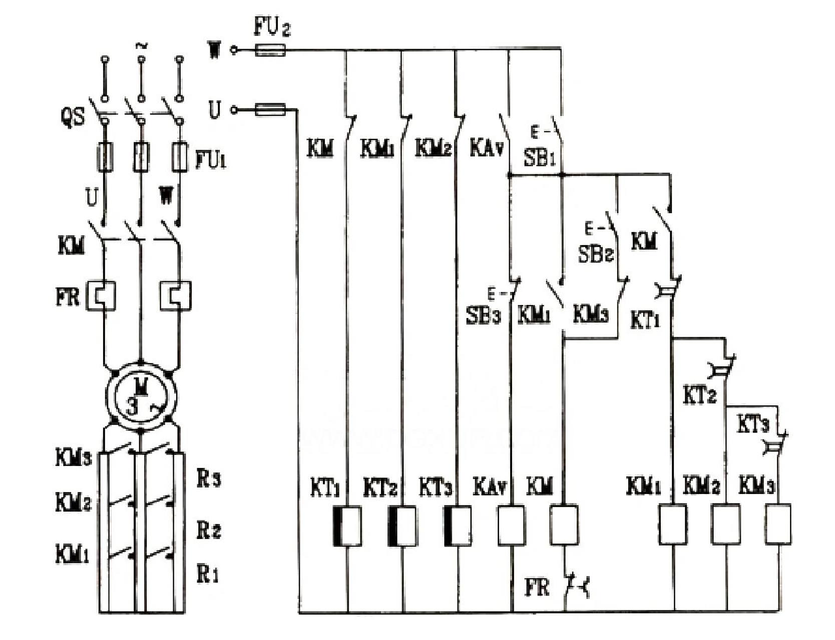
绕线式异步电动机转子串电阻起动控制线路
图片尺寸470x1145
谁能告诉我绕组式电机切除电阻的起动线路图
图片尺寸1944x2592
绕线式电动机接线图
图片尺寸643x508
绕线转子电动机起动控制电路图
图片尺寸640x864
三相电机的绕线方法!#技能培训 #plc培训 #高薪职业 # - 抖音
图片尺寸1077x1436
绕线式转子异步电动机串接电阻降压启动电路
图片尺寸1157x1125
三相绕线式电动机转子串联电阻启动控制电路图 为了限制启动电流并
图片尺寸1668x1280
线绕转子电机怎样串接电阻减速
图片尺寸720x540
三速电机接线原理图:调速绕组接线图解
图片尺寸407x605
三相绕线式异步电动机启动控制
图片尺寸895x580
单相调速电机绕组接线图.doc 9页
图片尺寸792x1120
绕线转子电机接线图 - 搜狗图片搜索
图片尺寸500x374
三相 strong>绕线 /strong>转子 strong>异步电动机 /strong>的
图片尺寸513x526
三相绕线式异步电动机串频敏变阻器启动梯形图_接线图分享
图片尺寸736x552
在转子绕组串入起动电阻或频敏变阻器对电机起动进行控制,图11是起动
图片尺寸800x440
电动机定子绕组串联电阻自动切换降压启动电路接线图
图片尺寸430x472
绕线式异步电动机的转子接线图
图片尺寸592x342
绕线式异步电动机转子串电阻起动控制电路图
图片尺寸826x1093
绕线式电机轻载启动方式串电阻启动和频敏变阻器
图片尺寸305x348
三相电机36槽2路并联接线怎样接 2011-04-21 请问75千瓦6极电机接线是
图片尺寸1158x1306