绕线盘使用图解

电缆绕线盘使用
图片尺寸2667x2000
电缆绕线盘使用
图片尺寸2000x2667
可伸缩电源线卷线盘 自动绕线器 电线整理器 ysh-1028-2c
图片尺寸1123x781
小郎人工程移动电缆盘绕线盘空盘卷线盘线缆盘拖线盘电线盘收线器带
图片尺寸790x1203
一种手动自动一体线缆收放绕线机
图片尺寸1711x1491
移动电缆盘线盘绕线盘空盘卷线盘线缆盘拖线盘线轴电线盘收线器t黑
图片尺寸750x1252
定制三相380v移动电缆拖线盘绕线盘卷线盘20米30米50米电源延长接
图片尺寸500x500
白色塑料绕线盘织带卷盘 工字轮透明塑料线盘绕线轴
图片尺寸790x772
【双针绕线绣】针法图解
图片尺寸690x387
博罗野狼yl-s24bs移动电缆盘绕线卷盘线滚子漏电保护国标准手提三角架
图片尺寸750x923
航模全系列无刷电机绕线方法详解课件.doc 9页
图片尺寸792x1120
电缆盘线盘移动空盘收线盘线缆盘50米100米绕线盘收线器拖线盘中盘空
图片尺寸790x1188
野狼yl-50cbs-1180轮车式移动电缆盘 电缆卷盘 绕线盘 3*4 -80米
图片尺寸790x1431
图文版87绕线圈
图片尺寸1080x1439
风筝新款轮空专用线大人轴承盘大轮盘倒转线盘绕线板
图片尺寸800x1067
cn213112020u_一种经编机用绕线盘
图片尺寸1705x1229
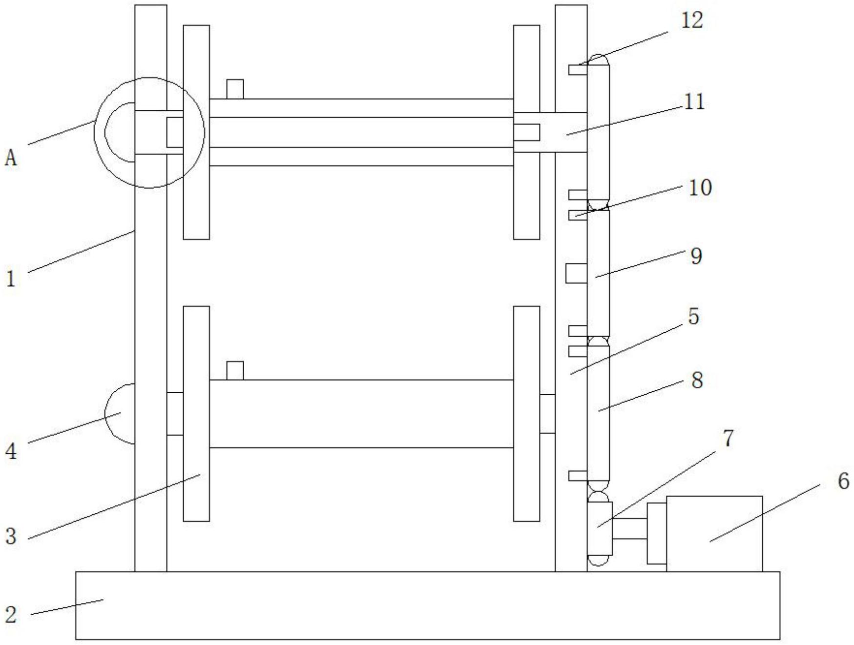
绕线盘,绕线装置,镀锡生产线及镀锡方法
图片尺寸1848x1243
电缆盘,线盘,绝缘线盘,绕线盘移动电源盘
图片尺寸1024x734
一种经编机用绕线盘的制作方法
图片尺寸1000x721
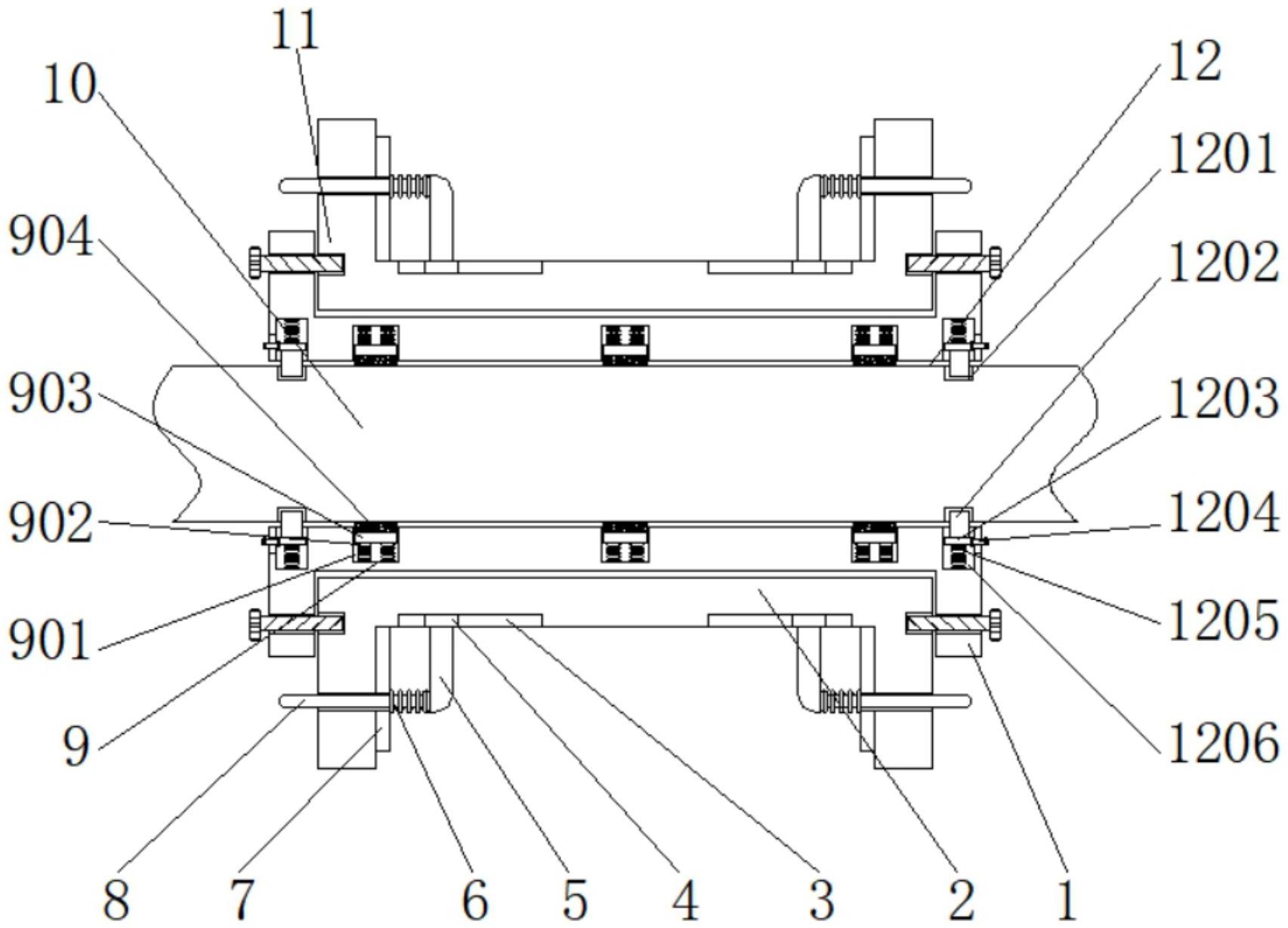
cn213326096u_一种电线电缆加工用绕线盘有效
图片尺寸1749x1322