绗缝机报价

kls26gs 高速电脑单针绗缝机
图片尺寸4032x3024
6月全新/二手现货明码标价 | 六月
图片尺寸1080x1440
双梁汕头绗缝机hc-db3000全自动双横梁双头电脑床垫裥棉机
图片尺寸1152x720
单针电脑绗缝机花型多针绗绣机花型
图片尺寸1080x675
布料衍缝机超声波复合压花机无线绗缝机复合压花机双超品牌厂家
图片尺寸1920x1080
印花工艺更多高速针刺机定义(九成新2手高速针刺机)针刺机速度倍è
图片尺寸368x499
供应多针绗缝机价格缝被机为客户提供技术服务
图片尺寸1080x1080
多针绗缝机(农学)
图片尺寸2953x1965
恒威对讲机同行报价单
图片尺寸920x1302
电脑直驱全移动绗缝机1
图片尺寸1440x1080
横向绗缝机头的制作方法
图片尺寸444x268
美缝剂施工价格表
图片尺寸693x954
保温被绗缝机 (农学)
图片尺寸2953x1965
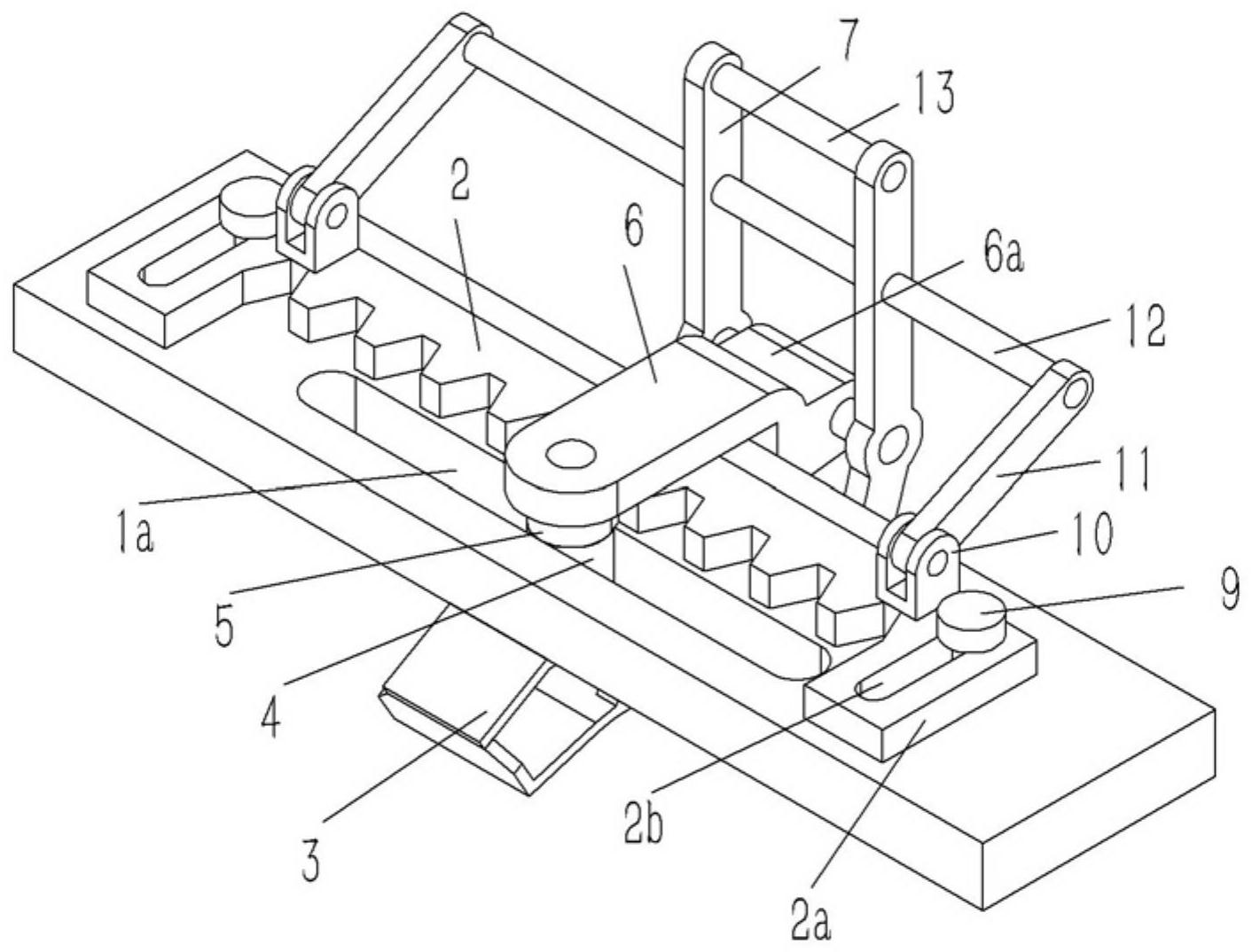
一种绗缝机上可微调的织物夹扣-爱企查
图片尺寸1412x1074
广州市颖城机械设备有限公司
图片尺寸800x1136
电脑绗缝机
图片尺寸800x381
商品详情云采
图片尺寸750x840
【图片 价格 品牌 报价】 -国美在线
图片尺寸750x1099
undefined
图片尺寸750x1222
一种绷布装置及绗缝机-爱企查
图片尺寸2062x1351