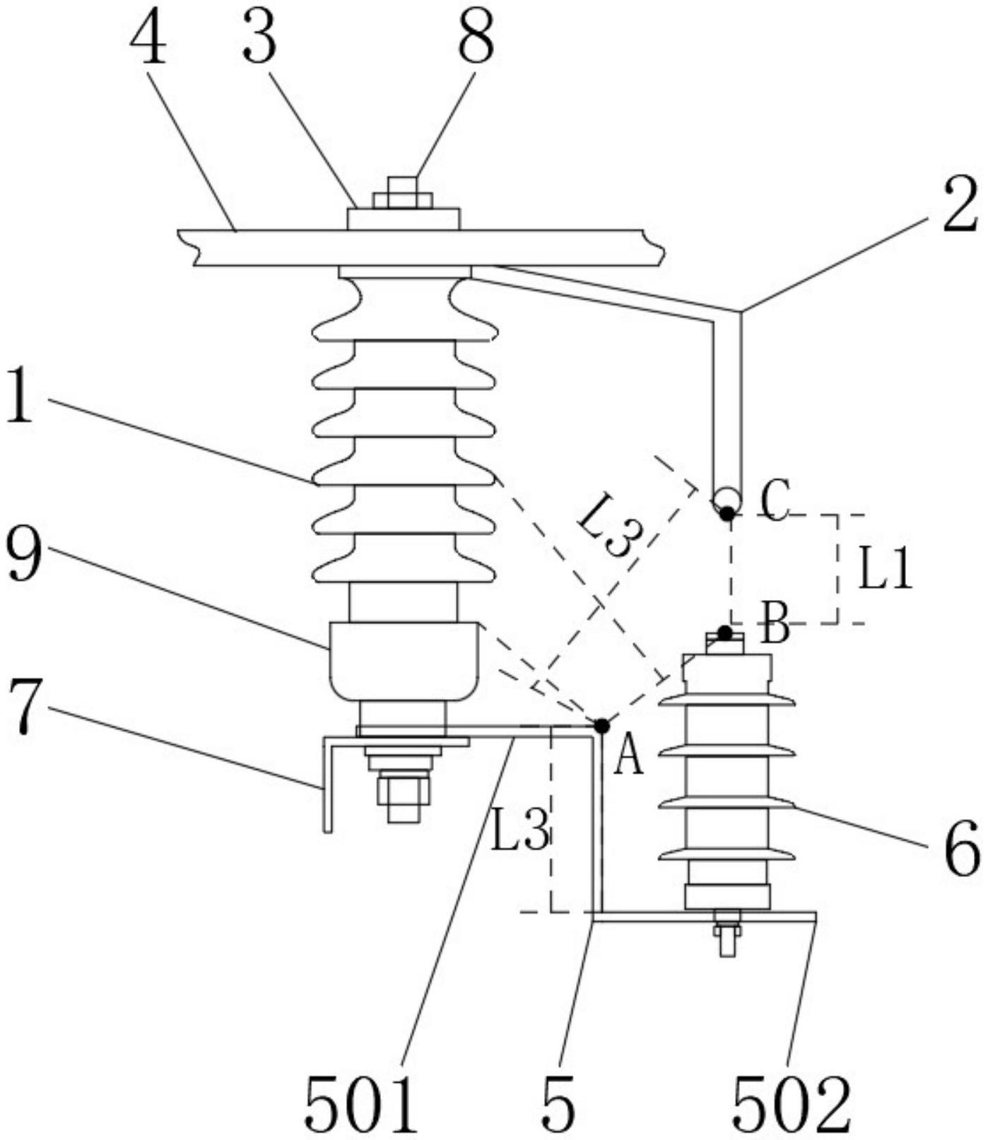
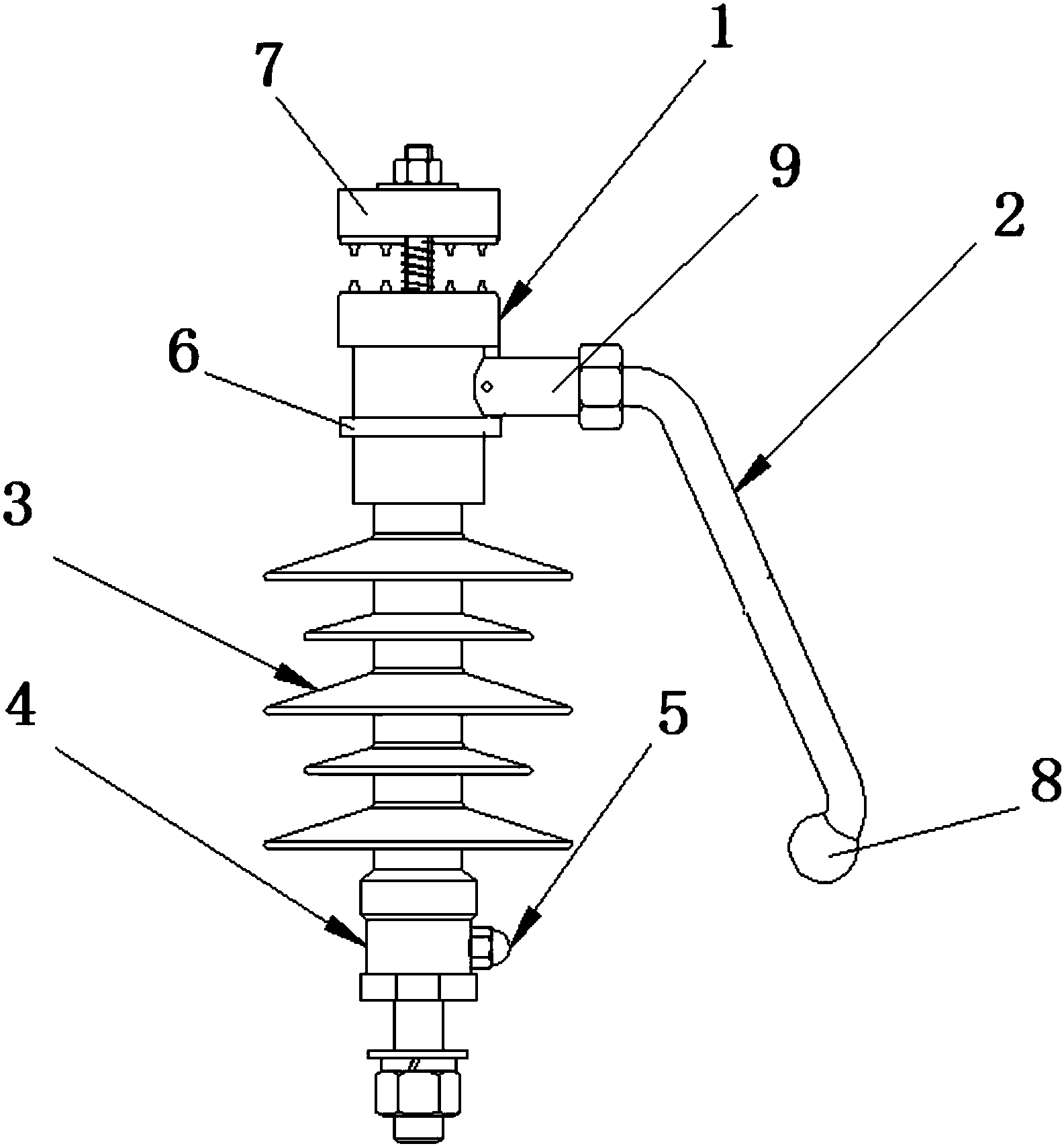
绝缘子结构原理图

绝缘子
图片尺寸700x1609
抑制高压直流瓷和玻璃绝缘子铁帽电解腐蚀的保护锌环设计
图片尺寸451x236
cn106611642a_一种可调放电距离的防雷线路柱式复合绝缘子失效
图片尺寸1585x1707
浩康电气防雷悬式绝缘子feg125穿刺防雷悬式绝缘子
图片尺寸687x409
> 2013年中国绝缘子产品介绍(图)
图片尺寸444x299
cn212113331u_一种新型结构的防雷绝缘子有效
图片尺寸1398x1613
一种内置压敏电阻单元的复合绝缘子装置的制作方法
图片尺寸1000x998
一种直流架空输电线路用悬式瓷绝缘子
图片尺寸1618x986
cn201975178u_一种管道母线三支柱绝缘子结构有效
图片尺寸1861x1859
第五节 绝缘子
图片尺寸1077x808
p-20t针式瓷绝缘子
图片尺寸316x414
cn2456275y_一种有机复合绝缘子失效
图片尺寸945x428
一种高压绝缘子结构的制作方法
图片尺寸1000x924
fxbw4-110-70复合悬式绝缘子
图片尺寸838x495
一个是抗拉支撑,但原理是一样的,比如悬式绝缘子的结构如下图:高压
图片尺寸640x330
cn206249974u_盘形悬式玻璃绝缘子有效
图片尺寸1000x801![选取几种线路中常见的绝缘子进行了研究[1],其具体结构如图1所示:目前](https://imgs.wantubizhi.com/img/735A5D1F980B52A636CC46F12F2D1A73CD23E081D0464D6CD390613926F5A8B07B8836CAB08A51FFA37FC22C80BCCE1377F4EA416D0BF2454AA5AA5FBCA5B16B68659180ED3BFEB4BBAB54277041031AFF8AA0346BD120EE5649ABE33CFAA542)
选取几种线路中常见的绝缘子进行了研究[1],其具体结构如图1所示:目前
图片尺寸455x597
一种防雷防爆绝缘子制造技术
图片尺寸902x1000
cn108766678a_单导线双联耐张复合绝缘子在审
图片尺寸1477x544
棒形悬式复合绝缘子
图片尺寸307x339