维持罐

维持罐(316l)
图片尺寸4608x3456
一种新型连续灭菌保温维持罐制造技术
图片尺寸1000x750
维持罐简笔画
图片尺寸499x230
一种新型层流维持罐-爱企查
图片尺寸1717x1709
一种连消灭菌用的维持罐的制作方法
图片尺寸628x1000
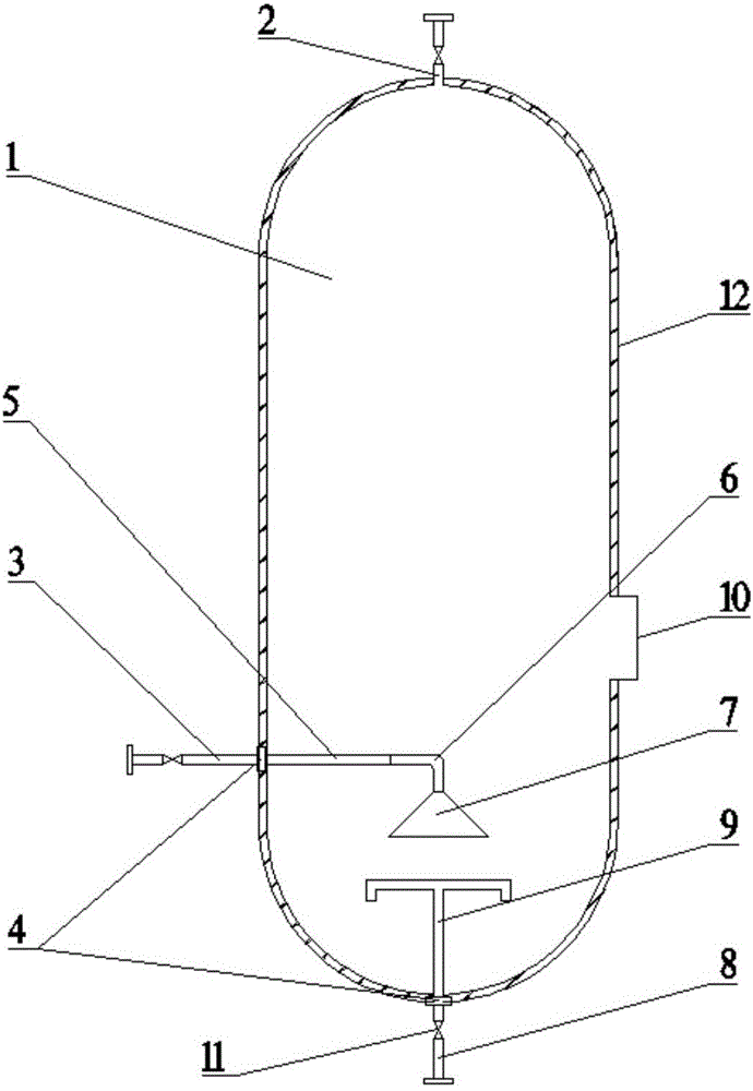
cn208823491u_一种用于连续灭菌的维持罐
图片尺寸690x1000
新闻:哈尔滨转让二手不锈钢醋储罐
图片尺寸1152x864
一种连续维持罐装置-爱企查
图片尺寸898x1145
温度后,然后改向夹层通蒸气进行间接加热,以维持罐内温度在规定范围内
图片尺寸350x342
一种用于连续灭菌的维持罐的制作方法
图片尺寸693x1000
配料罐制造技术,维持罐的设计图纸专利_技高网
图片尺寸742x1000
发酵连消系统
图片尺寸953x343
lng气瓶
图片尺寸550x367
4立方米糖连消维持罐图纸合集的封面图
图片尺寸282x398
城关葡萄发酵罐安装调试
图片尺寸600x400
连消型式,实现了连消的字面意义,还存在一些缺陷,维持罐未能先进先出
图片尺寸508x229
多功能液体温度调节罐的制作方法
图片尺寸1000x526
image.png
图片尺寸439x444
芳香油提取罐
图片尺寸472x390
天津市东丽本地出售二手氯化钠蒸发器优质商品
图片尺寸1080x1440