缆车挂钩结构图

阻燃电缆挂钩的结构和性能优势
图片尺寸600x448
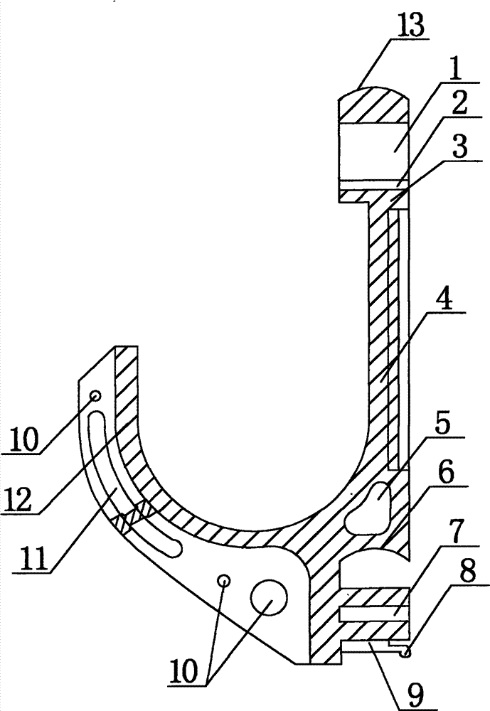
cn207535895u_一种大跨度索道桥钢索运输的滑轮挂钩装置及滑轮挂钩组
图片尺寸1164x2329
一种智慧旅游用登山缆车的制作方法
图片尺寸891x1000
一种大跨度索道桥钢索运输的滑轮挂钩装置及滑轮挂钩组制造方法及图纸
图片尺寸498x1000
缆车传送机构的操作方法与流程
图片尺寸1000x814
新型缆车系统的制作方法
图片尺寸1000x890
一种煤矿开采用缆车
图片尺寸1795x1096
自锁式矿用组合电缆挂钩
图片尺寸689x1000
背景技术:索道(ropeway),又称吊车,缆车,流笼(缆车又可以指缆索铁路)
图片尺寸566x630
一种观光列车牵引挂钩
图片尺寸429x306
绳马达卷扬机,抓木器挖掘机,固定滑轮组,绳索,活动滑轮组,滑轮和挂钩
图片尺寸1878x812
天车,游车,大钩和钢丝绳ppt
图片尺寸1080x810
yg70-00游车大钩设计
图片尺寸813x575
智能收放线电动线缆车的制作方法
图片尺寸1000x751
背景技术:现有的架空索道双钩抱索器,上,下挂钩及力主体采用精密铸造
图片尺寸326x550
简艾自动化设备缆车设计结构详细
图片尺寸530x327
用于索道的夹紧装置制造方法及图纸
图片尺寸1000x860
游车大钩
图片尺寸820x579
快速自锁挂钩的制作方法
图片尺寸422x443
这样挂钩就不会掉了
图片尺寸1080x1439