缓冲结构

板材推送缓冲结构
图片尺寸1293x2468
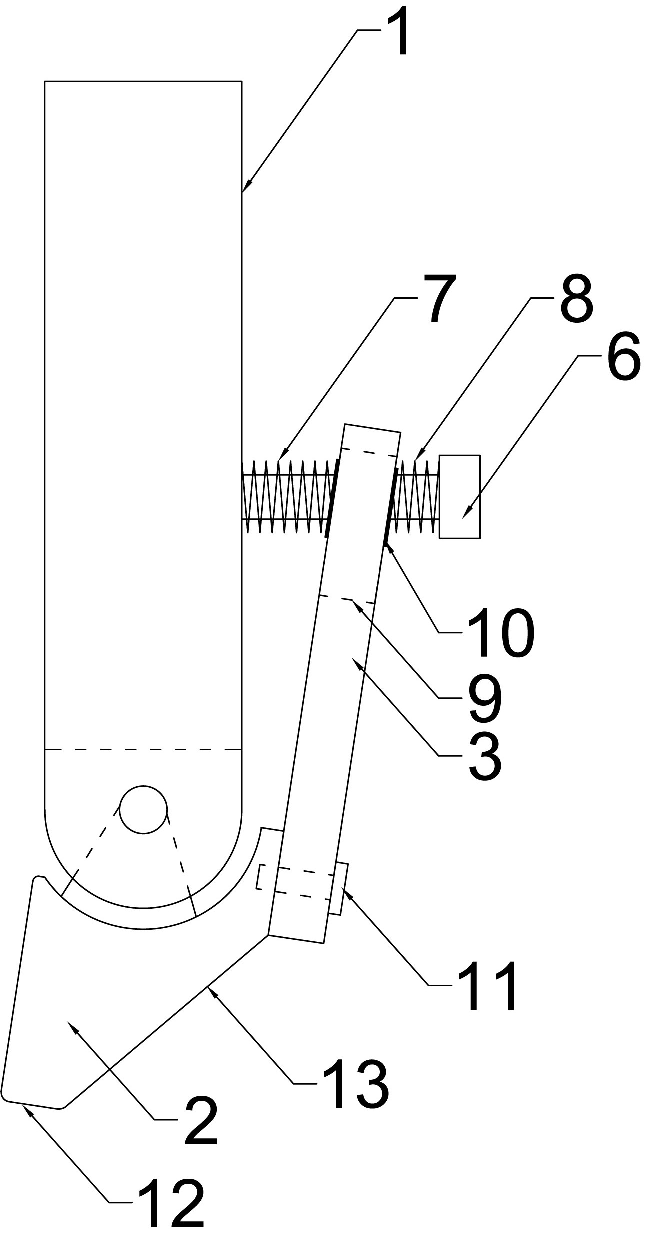
自行车缓冲结构
图片尺寸1741x2457
一种新型弹簧阻尼着陆缓冲结构
图片尺寸818x1584
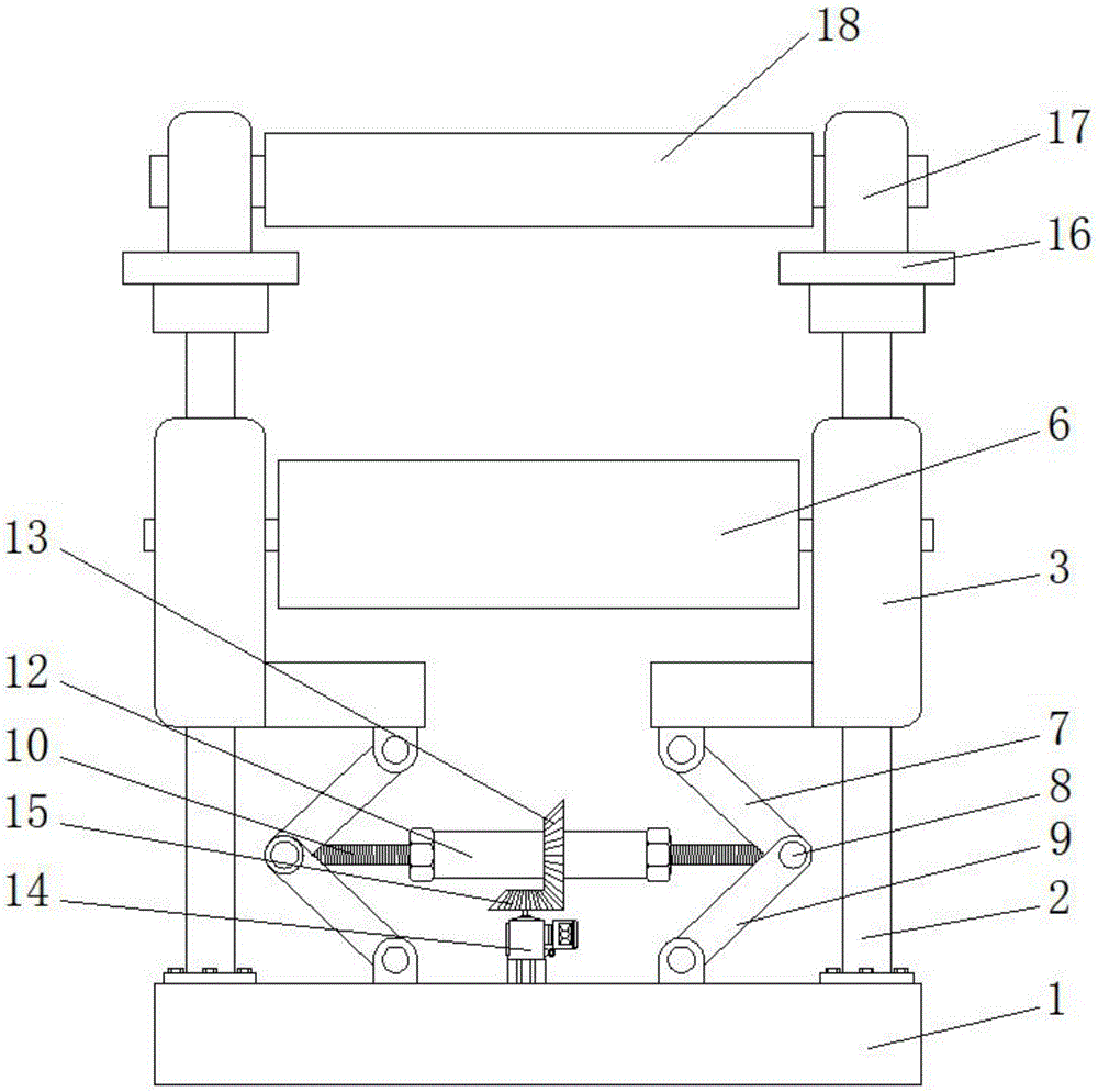
一种用于升降机的缓冲结构的制作方法
图片尺寸852x1000
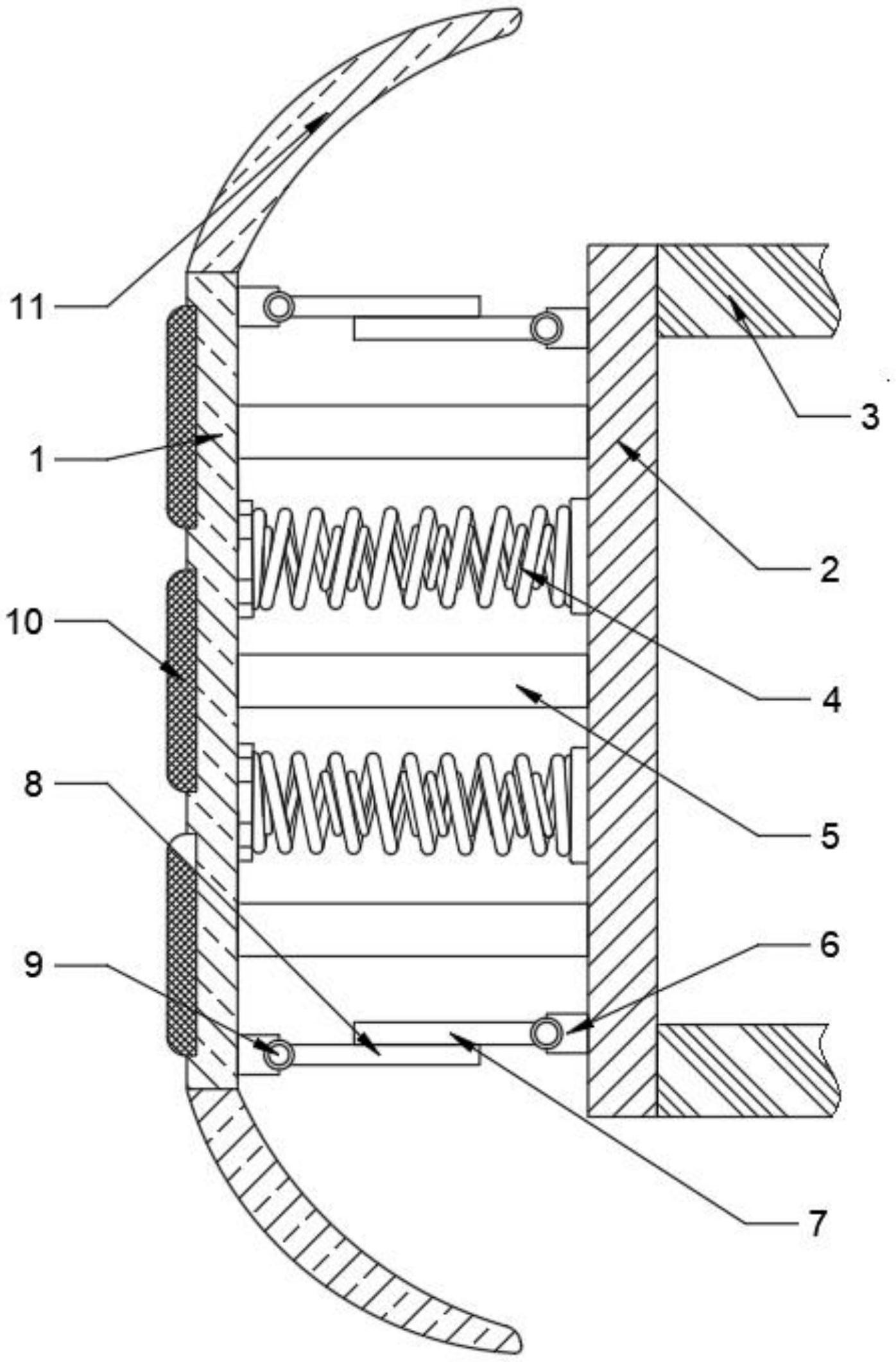
缓冲结构
图片尺寸1911x1412
cn211225715u_一种标签印刷张力调节缓冲结构有效
图片尺寸1000x994
电梯用液压缓冲器的缓冲原理与结构分析
图片尺寸1823x630
一种汽车减震器的缓冲结构的制作方法
图片尺寸532x657
cn207604465u_一种茶叶揉捻机压力缓冲结构有效
图片尺寸915x1535
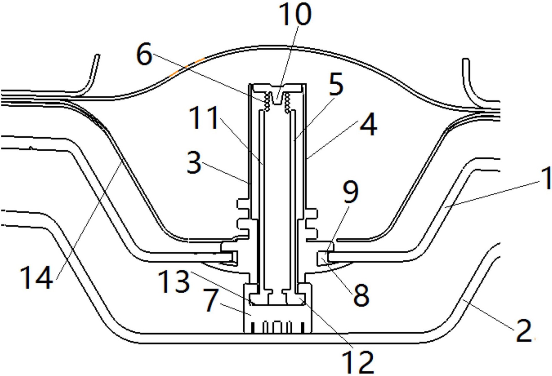
cn213565763u_一种具有新型缓冲结构的汽车保险杠有效
图片尺寸1396x2121
一种汽车后背门缓冲结构-爱企查
图片尺寸1902x1297
cn101082353a_缓冲装置失效
图片尺寸1743x1572
一种织布机的底座缓冲结构的制作方法
图片尺寸922x1000
一种新能源suv追尾后保险杠缓冲结构
图片尺寸1770x529
缓冲座缓冲结构
图片尺寸820x392
一种用于趟门的缓冲结构
图片尺寸1000x858
一种收料机用缓冲结构的制作方法
图片尺寸1000x856
一种高强度落煤点缓冲结构
图片尺寸1852x1241
一种卡丁车侧裙的撞击缓冲结构
图片尺寸2102x1831
cn102502079a_缓冲结构有效
图片尺寸1574x1260