老式磅秤结构图

台秤
图片尺寸428x500
和秦始皇有关?
图片尺寸640x700
请用毫米刻度尺粗略测量一下图中秤盘支点到秤杆支点的
图片尺寸248x139
它们有哪些主要结构呢?
图片尺寸640x360
珠海中心幼儿园大二班"初识传统国学 ,传承中华文化"家长助教活动
图片尺寸1600x1200
广东省2003年中考物理试题答案
图片尺寸802x400
青夏教育精
图片尺寸322x234
机械磅秤分类,电子磅秤分类: 一般称量较大,底部采用滑轮结构,秤体
图片尺寸748x619
从成语权衡利弊中的权和衡看看相关的文化和文物
图片尺寸640x445
cn2226284y_双面弹簧度盘秤失效
图片尺寸800x857
磅秤原理
图片尺寸1153x1103
第一章第一节练习讲解 (2)
图片尺寸1080x810
详细!
图片尺寸258x257
台秤机械磅秤100公斤1000kg1吨 500kg机械秤2吨磅秤 带砣老式磅秤机械
图片尺寸750x960
盘称10公斤家用老式机械盘秤商用小型称重台秤厨房菜秤食物托盘称60kg
图片尺寸750x1090
老式机械磅秤100公斤-3吨杠杆原理称重地磅 带标尺的tgt磅秤
图片尺寸790x836
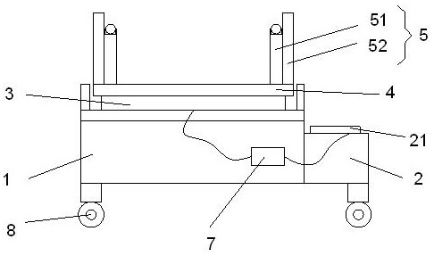
一种台秤结构
图片尺寸486x287
1《用天平比较轻重》
图片尺寸720x540
地磅秤台结构分析及计算
图片尺寸1200x508
缓冲地磅结构
图片尺寸422x225