耿立东

无量诸天观有情繁花未落逐飞琼耿立东近作删存
图片尺寸720x480
耿立东
图片尺寸640x960
我院特邀山东省中医院专家曹志群,宋绍亮等专家团队来院坐诊
图片尺寸1080x720
云帆视点段维不必过早地追求诗词标识度
图片尺寸536x800
全国人大常委会委员,环资委副主任黄献中一行视察现代牧业蚌埠牧场
图片尺寸558x369
2017年度同济大学黄金枝土木建筑奖研金奖学金颁奖仪式隆重举行
图片尺寸793x528
患病的战友耿立东在夫人的陪同下,坚持参加欢迎会!
图片尺寸2000x2667
记者采访徐州市环保局局长纪杰(摄影耿立东)
图片尺寸1780x1220
汪时健:鹧鸪天·己亥清明悼亡组词
图片尺寸1080x1065
名老中医嫡传之后皮肤病专家孙志东入驻名医汇
图片尺寸1242x912
全国人大环资委考察晋冀江浙生态文明建设情况
图片尺寸400x360
慢性荨麻疹治疗现状综述
图片尺寸926x1309
2019吉林白山临江市招考社区工作者20人公告
图片尺寸746x758
环境保护部环境规划院董战峰教授,援藏干部,自治区人大农环工委耿立东
图片尺寸1280x960
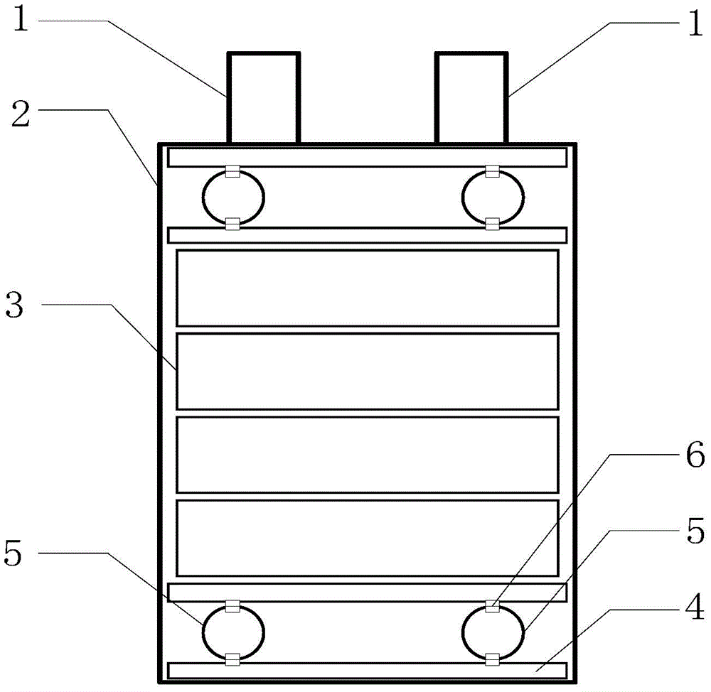
cn209029246u_用于电力电容器减振降噪的金属橡胶减振器
图片尺寸1000x974
全国人大环资委来渝调研
图片尺寸640x480
女士_耿立东_失业
图片尺寸480x616
头条诗人耿立东辛丑诗词精选集
图片尺寸1080x608
中国用假体丰下巴医院推荐用假体丰下巴医院top50优先公布
图片尺寸480x667
2009中华环保世纪行宣传活动启动 陈至立出席
图片尺寸400x266