胀紧轴原理图

按压蓄能式机械胀轴的制作方法
图片尺寸719x1000
气胀(涨)轴工作原理
图片尺寸610x402
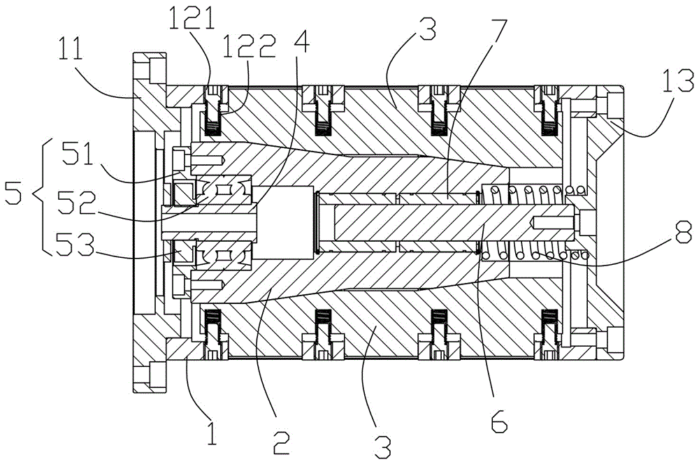
一种机械膨胀轴
图片尺寸2839x809
液压膨胀芯轴
图片尺寸462x696
cn207580963u_一种可单人操作的机械膨胀轴有效
图片尺寸1811x907
cn201755930u_可调锁紧力自动胀紧轴失效
图片尺寸435x266
一种新型机械式胀轴
图片尺寸720x685
cn100572055c_自动胀紧轴失效
图片尺寸1838x1495
cn201848556u_用于加工螺杆泵衬套外圆的定心胀紧芯轴失效
图片尺寸2496x1240
cn109573745a_一种用于收放卷设备的机械胀轴在审
图片尺寸1000x664
cn203448698u_一种新型单拉杆胀紧芯轴装置有效
图片尺寸1000x557
一种涨紧装置制造方法及图纸
图片尺寸1000x523
一种同心移动的涨紧轴的制作方法
图片尺寸443x501
cn105366441a_筒管紧涨轴及化纤长丝卷绕装置有效
图片尺寸1000x545
cn207043367u_一种精密机械膨胀芯轴有效
图片尺寸1965x956
一种用于压膜机卷材收放料轴的涨紧机构
图片尺寸598x513
一种液压膨胀芯轴的制作方法
图片尺寸1000x440
一种耐磨损的电梯用涨紧轴的制作方法
图片尺寸406x327
cn102205429a_精车外圆花键涨紧芯轴失效
图片尺寸1773x741
cn103628202b_玻璃丝原丝筒的平行涨紧装置有效
图片尺寸1000x922