胶囊式油枕补油

鑫易 变压器油枕 胶囊 油枕 隔膜 变压器胶囊 变压器油枕
图片尺寸750x750
变压器油枕油枕气囊法国pronal变压器橡胶stp变压器储油柜油枕
图片尺寸2380x3367
变压器油枕法国马思汉mbt7002830变压器储油柜油枕变压器配件
图片尺寸446x346
变压器油枕 mbt1300-4200 法国马思汉 油枕气囊 变压器储油柜油枕
图片尺寸400x347
变压器油枕有什么作用呢?
图片尺寸1460x821
多图详解变压器油枕的结构
图片尺寸387x300
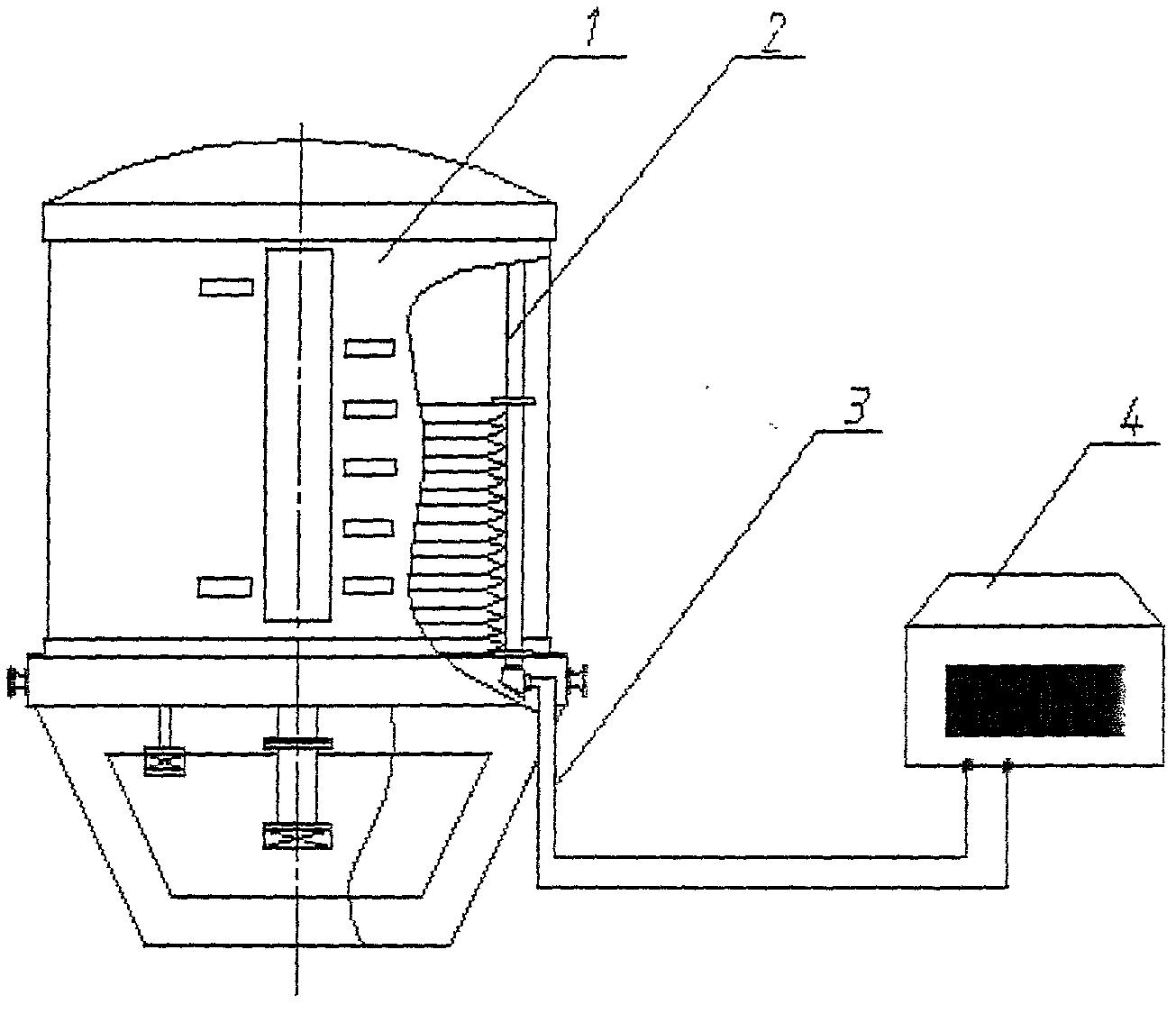
消弧系统测试仪
图片尺寸641x400
"不过现在环境温度与油枕内油温区别不大,我们
图片尺寸592x851
变压器油枕结构_补偿_波纹_胶囊
图片尺寸1080x743
变压器油枕的作用
图片尺寸1280x720
企业最终还是选择了这样治理变压器下部回油管蝶阀渗漏
图片尺寸660x524
10多倍频试验装置
图片尺寸800x800
泰国皇家纯 天然乳胶枕 儿童枕头 车载u型枕枕 礼品 乳胶记忆枕头
图片尺寸1666x1666
胶囊
图片尺寸880x603
智能内油式金属波纹膨胀储油柜-爱企查
图片尺寸1305x1145
高压电气交接试验设备
图片尺寸714x530
电容测量;下面中试控股详细介绍油浸式变压器和干式变压器外形的区别
图片尺寸642x423
高油位报警信号需要将储油柜注满油时进行.
图片尺寸700x219
电力变压器储油柜—胶囊,油囊
图片尺寸640x853
p data-id="gnwj8j5w16">俗称 a target="_blank" href="/item/油枕
图片尺寸800x969