脉冲爆震发动机图纸

cn113153569a_一种平稳排气的多管脉冲爆震发动机
图片尺寸1792x1766
本想用双脉冲忽悠却被中国当了真美国空军只能打起标准6的主意
图片尺寸848x610
你好 能给我发一份脉冲发动机的图纸和计算方法么 谢谢了 我想自己
图片尺寸718x556
你好 能给我发一份脉冲发动机的图纸和计算方法么 谢谢了 我想自己
图片尺寸1100x775
一种脉冲预引爆可稳定工作的爆震发动机的制造方法与工艺
图片尺寸579x581
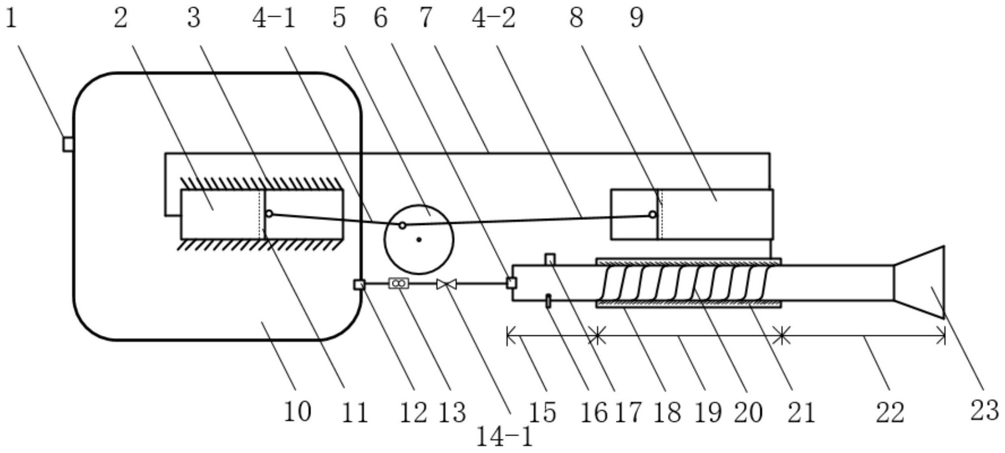
一种平稳排气的多管脉冲爆震发动机
图片尺寸1000x985
一种基于两级爆震的新型吸气式脉冲爆震发动机系统的制作方法
图片尺寸1000x701
将爆炸化作推力!俄罗斯脉冲爆震发动机,进入第一阶段测试
图片尺寸826x292
一种脉冲爆震发动机的制作方法
图片尺寸1000x492
脉冲爆震发动机未来航空发动机陈光谈航发57
图片尺寸642x394
老大,我需要的是发动机图纸,发动机啊
图片尺寸1093x771
一种吸气式脉冲爆震发动机抑制燃气前传的结构的制作方法
图片尺寸1000x374
旋转爆震发动机的制作方法
图片尺寸795x1000
一种基于斯特林循环冷却的脉冲爆震发动机-爱企查
图片尺寸1974x890
在脉冲爆震发动机研究过程中,大量的专利及文献涉及pdc的阀门结构,可
图片尺寸1080x390
超级发动机图纸图片
图片尺寸991x590
汽车发动机爆震故障排除及分析的方法
图片尺寸525x470
超燃冲压发动机主要类型
图片尺寸600x1176
一种脉冲爆震发动机压力反传抑制结构的制作方法
图片尺寸1000x318
脉冲喷气发动机的构造
图片尺寸500x504