自制简易可伸缩机械臂

一种折叠式机械臂的制作方法
图片尺寸444x428
瓦楞纸液压抓娃娃机械臂手工diy材料包实验steam小学生科技小制作
图片尺寸1000x1000
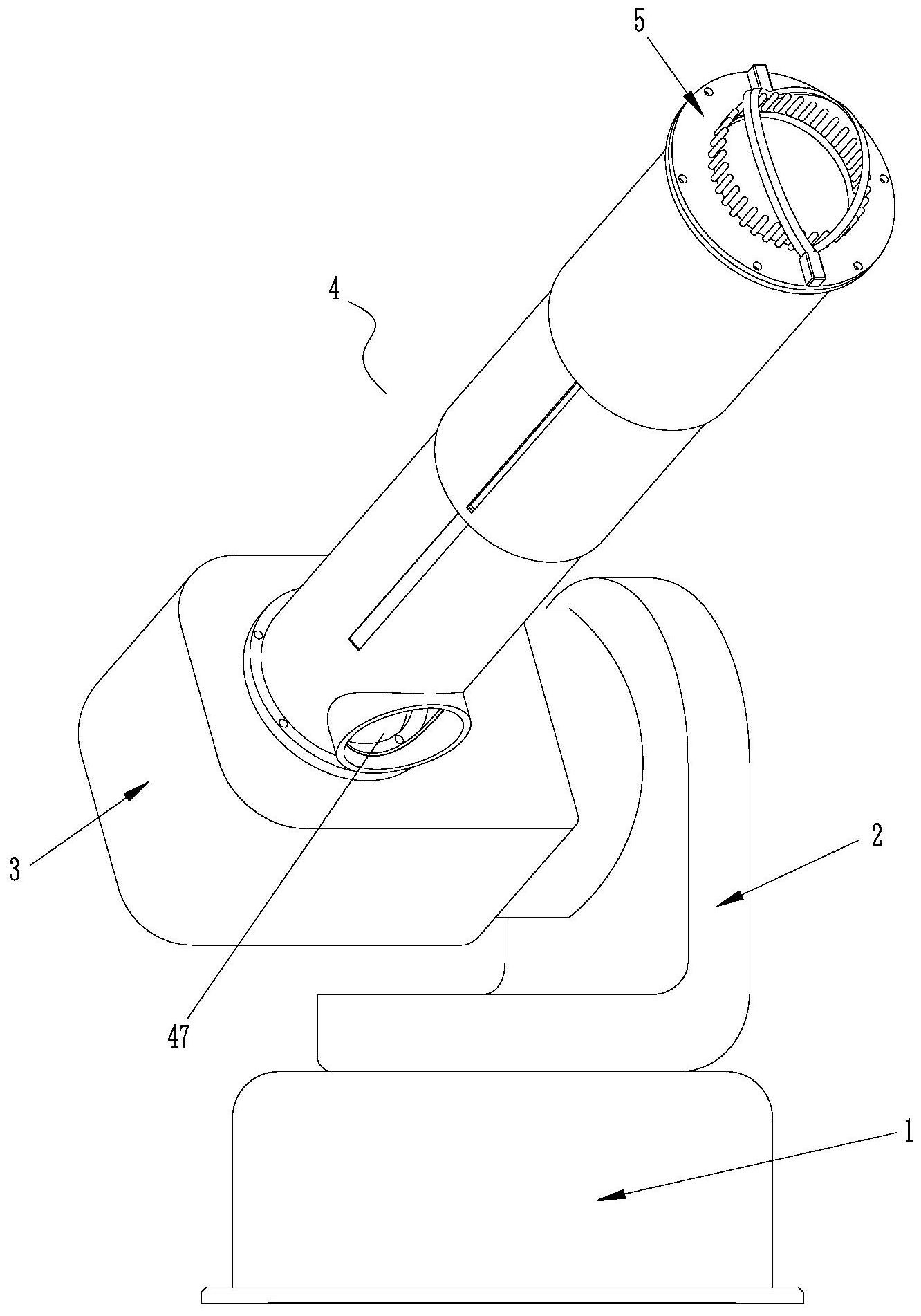
一种可旋转机械臂
图片尺寸411x443
小山姆手工如何用纸板制作液压动力机械臂
图片尺寸1280x720
如何用纸板制作液压机械臂
图片尺寸1170x731
外国小哥教你自制液压机械臂,作品超惊喜!
图片尺寸1280x720
手工达人自制纸板机械臂,制作原理很简单,不仅样子好看还实用!
图片尺寸496x280
液压机械手臂diy科技小制作小发明学生手工制作材料针筒机械臂
图片尺寸800x800
一种折叠伸缩式汽车起重机机械臂的制作方法
图片尺寸444x360
简单的机械臂模型
图片尺寸605x530
一种可伸缩快速反应的机械臂及其控制方法
图片尺寸388x444
cn104723358a_一种可伸缩的机械臂有效
图片尺寸1000x831
一种伸缩机械臂的制作方法
图片尺寸906x1000
牛人实用冰棒手工自制自动机械伸缩臂
图片尺寸640x360
液压机械手臂小制作diy小发明 学生手工制作材料针筒机械臂针筒机
图片尺寸800x800
无人机上的可折叠式机械臂
图片尺寸424x476
液压机械手臂科技小制作小发明diy学生科普益智电动模型液压传动
图片尺寸1777x1777
一种两段收缩式机械臂
图片尺寸1519x2300
液压机械手臂小制作diy小发明 学生手工制作材料针筒机械臂针筒机
图片尺寸800x800
一种中空可伸缩的机械臂
图片尺寸1332x1903