自制迷你柴窑结构图

柴窑结构
图片尺寸1080x540
结构_柴窑_家居家装_装修
图片尺寸1080x1441
小心假柴窑更要小心没审美的真柴窑
图片尺寸475x496
本发明涉及中国传统陶瓷柴烧窑炉领域,具体涉及到窑炉结构的改进,窑炉
图片尺寸914x1000
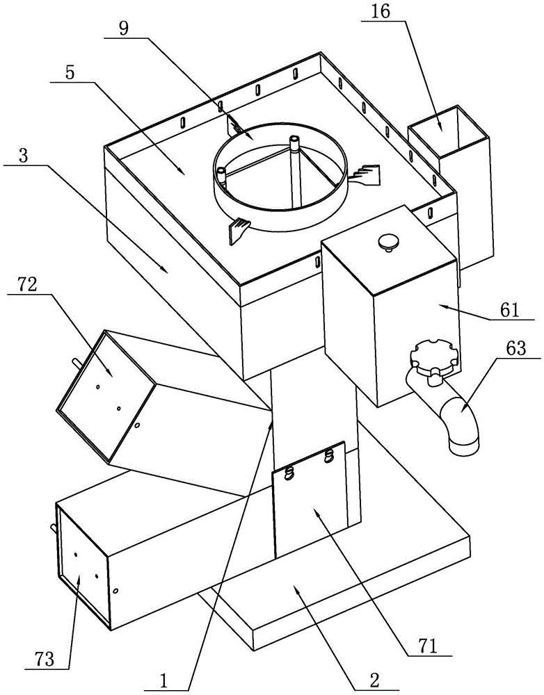
一种烧制陶器的旋转柴窑的制作方法
图片尺寸1000x956
节能炕灶设计
图片尺寸392x269
标准灶体内部结构
图片尺寸925x521
热能收集型柴窑的制作方法
图片尺寸767x1000
什么是省柴灶?使用省柴灶有哪些好处?
图片尺寸547x437
cn212158136u_一种以生物柴油为燃料的瓷器窑炉有效
图片尺寸1587x854
柴窑结构实景图
图片尺寸1080x716
柴火灶制作方法
图片尺寸600x400
一种多功能的柴火灶的制作方法
图片尺寸555x511
一种柴火集成灶制造技术
图片尺寸898x1000
抟土为器——山东大学博物馆陶器文化微课堂(一)
图片尺寸698x465
滚石的相册-日本柴窑烧成揭秘
图片尺寸540x720
关于进藏用柴气炉做饭的柴火问题
图片尺寸392x535
8月亲子mini柴窑课程九烧张立明
图片尺寸1080x1138
先进陶瓷制造热工设备之间歇式窑炉
图片尺寸580x490
cn209042447u_一种柴火灶
图片尺寸782x1000