自动切水器工作原理图

谈谈水刀机结构及工作原理
图片尺寸1214x544
智能切水器qsqzn
图片尺寸1181x1431
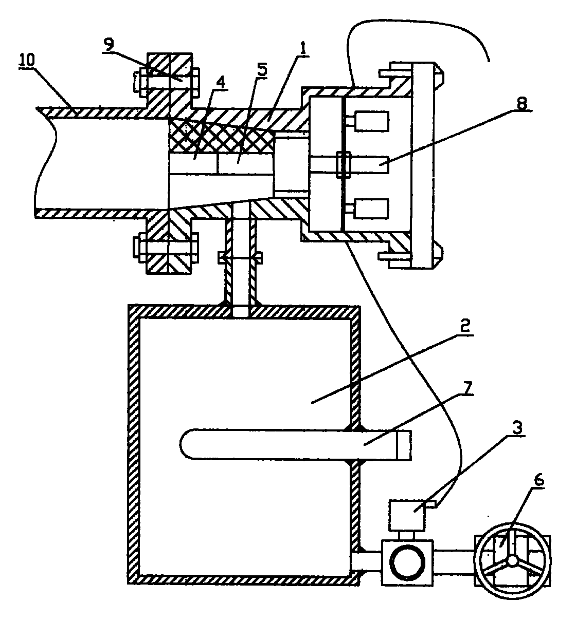
水射流切割原理图 1-带过滤器的水箱 2-水泵 3-储液蓄能器 4-控制器 5
图片尺寸1080x810
水刀配件厂家:水刀——如何让柔软的水变成无所不切的钢刀
图片尺寸1080x825
nikkiso non-seal
图片尺寸800x600
自动切水器
图片尺寸400x335
自动切水器qsqhh
图片尺寸1074x854
智能切水器qsqzn
图片尺寸1335x732
cn2307172y_高压容器自动切水器失效
图片尺寸954x868
自动切水器
图片尺寸636x425
用于油罐的自动切水装置的制作方法
图片尺寸1000x855
机电双保险油罐自动切水器_cn201320447709.7_知雀网
图片尺寸1000x487
智能油罐切水器
图片尺寸1120x1209
转鼓式切片机厂家
图片尺寸400x229
维修保养
图片尺寸959x643
一种切水器
图片尺寸1000x766
在研究电压的作用时,我们可以引入"水路"同"电路"进行类比.如图6-1
图片尺寸1349x650
water shearing system-油罐切水器|截油排水器|密闭取样器|原油自动
图片尺寸603x449
小创客有大智慧水枪巧变洗碗机
图片尺寸600x400
激光切割机水循环冷却系统工作原理
图片尺寸487x294