自动浇水花盆原理图解

cn101057546a_一种自动浇水花盆失效
图片尺寸1714x1256
1,简易自动浇花机的工作原理 在本次设计中利用湿敏传感器感应土壤
图片尺寸795x518
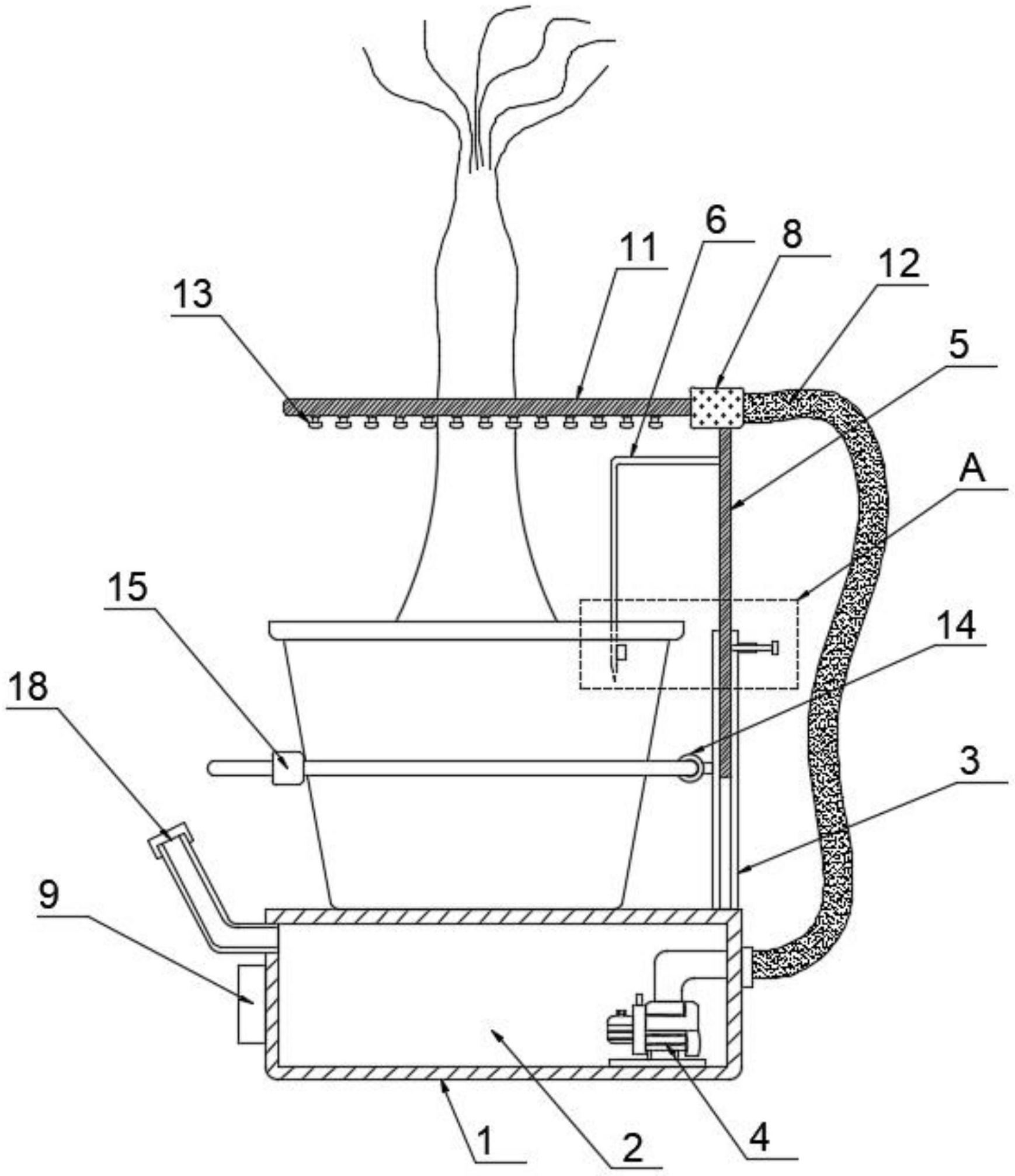
它解决了现有的灌溉装置无法根据植物需要和天气状况进行浇水施肥的
图片尺寸2068x2076
一种智能自动浇水器 - cn201720285261.
图片尺寸1000x952
懒人花盆自动吸水花盆绿萝用懒人盆清仓特大水培自吸盆塑料吸水盆
图片尺寸750x626
cn206005413u_一种智能浇花系统失效
图片尺寸1548x1153
涉及分绿植培养设备领域,包括放置底座,设置于放置底座正上方的花盆
图片尺寸1738x2013
一种智能浇花系统技术方案
图片尺寸1000x747
一种可移动自动浇花控制装置的制作方法
图片尺寸1000x435
一种室内盆栽自动浇水装置
图片尺寸1699x1296
专利名称一种自动浇花的远程控制系统的制作方法
图片尺寸1000x530
自动浇花器 家庭 出差智能定时自动浇水器套装滴灌设备滴灌带
图片尺寸750x495
自动浇花系统
图片尺寸1654x1483
一种自动浇花系统的制作方法
图片尺寸997x1000
一种用于盆栽植物的自动滴灌浇水设备
图片尺寸1000x820
自动浇花的原理图,利用虹吸原理让两边的水压把罐子里的水灌注到花盆
图片尺寸580x362
自动化灌溉施肥系统的制作方法
图片尺寸927x611
一种室内盆栽自动浇水装置
图片尺寸360x275
懒人花盆也并没有宣传的那么好用,让我们来了解一下,懒人花盆的原理就
图片尺寸619x361
一种盆栽花卉自动浇水装置
图片尺寸1497x2268