自动浇水装置设计图

国庆假外出游玩赶紧学学5种自动浇水装置花花草草莫担心
图片尺寸1004x744
设计中利用湿敏传感器感应土壤湿度【2】从而控制后面的装置,达到自动
图片尺寸795x518
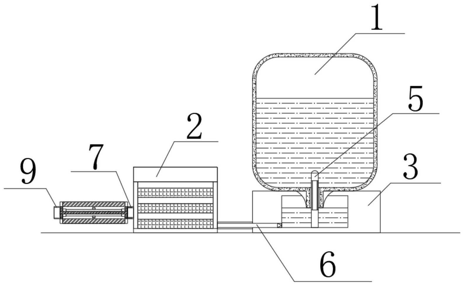
一种自动浇花装置的制作方法
图片尺寸932x474
自动定时浇水器
图片尺寸673x800
一种盆栽花卉自动浇水装置
图片尺寸1497x2268
一种温湿度自动感应的浇花装置和系统
图片尺寸1562x1069
自动浇花器懒人浇水 雾化微喷淋滴灌系统 家用智能定时控制园艺
图片尺寸790x377
一种农作物自动浇水装置
图片尺寸1659x2015
自动浇花器智能滴水器盆栽滴灌系统洒水懒人定时浇水配件三通滴箭
图片尺寸800x800
cn113080039a_一种节能方便的盆栽植物自动浇水装置
图片尺寸1579x974
一种太阳能自动滴灌浇水装置的制作方法
图片尺寸1000x840
基于液体压强和皮带传动原理的可旋转自动浇水器
图片尺寸1651x1156
一种红薯育苗用自动浇水装置-爱企查
图片尺寸556x800
cn101669442a_一种自动浇花装置失效
图片尺寸816x1043
基于液体压强和皮带传动原理的可旋转自动浇水器的制作方法
图片尺寸1000x770
一种全自动太阳能滴管浇花装置
图片尺寸1762x2507
一种农作物自动浇水装置制造方法及图纸
图片尺寸823x1000
自动浇花装置的制作方法
图片尺寸603x407
一种用于园艺绿化的自动浇水装置
图片尺寸444x422
一种带自动浇水功能的花盆装置的制作方法
图片尺寸382x443