自动碰锁结构原理

cn2054936u_碰锁节电开关失效
图片尺寸2688x2496
cn201874337u_一种内藏式自动门锁有效
图片尺寸1844x2544
cn208966157u_一种便捷式日式碰锁
图片尺寸550x334
一种可自锁的智能门锁的制作方法
图片尺寸1000x275
其内部结构图如下:根据宣传内容,这种联动锁体主要是为了解决全自动锁
图片尺寸800x397
一种便捷式日式碰锁的制作方法
图片尺寸550x334
背景技术:传统的电控锁结构较为简单,并且功能单一,只通过电磁铁进行
图片尺寸891x1000
大门老虎锁 老式外装门锁 c级防盗锁 铁门木门推拉移动门自动碰锁
图片尺寸750x1162
酒店电子门锁培训教材
图片尺寸1283x1755
讲的是门锁的哪个部分,在正式进入主题之前,我们先放一张门锁的结构图
图片尺寸675x557
一种防暴力开启的电子门锁驱动机构的制作方法
图片尺寸331x443
王力特能锁体王力防盗门锁自动锁碰锁防盗门通用锁体锁芯
图片尺寸1920x1920
老式防盗门自动门锁 旋钮锁航鹰华鹰十字自动碰锁更换
图片尺寸1080x1440
这把智能锁你见过吗?
图片尺寸640x754
一种智能锁的制作方法
图片尺寸1000x802
空转锁 - 2020年最新商品信息聚合专区 - 百度爱采购
图片尺寸598x283
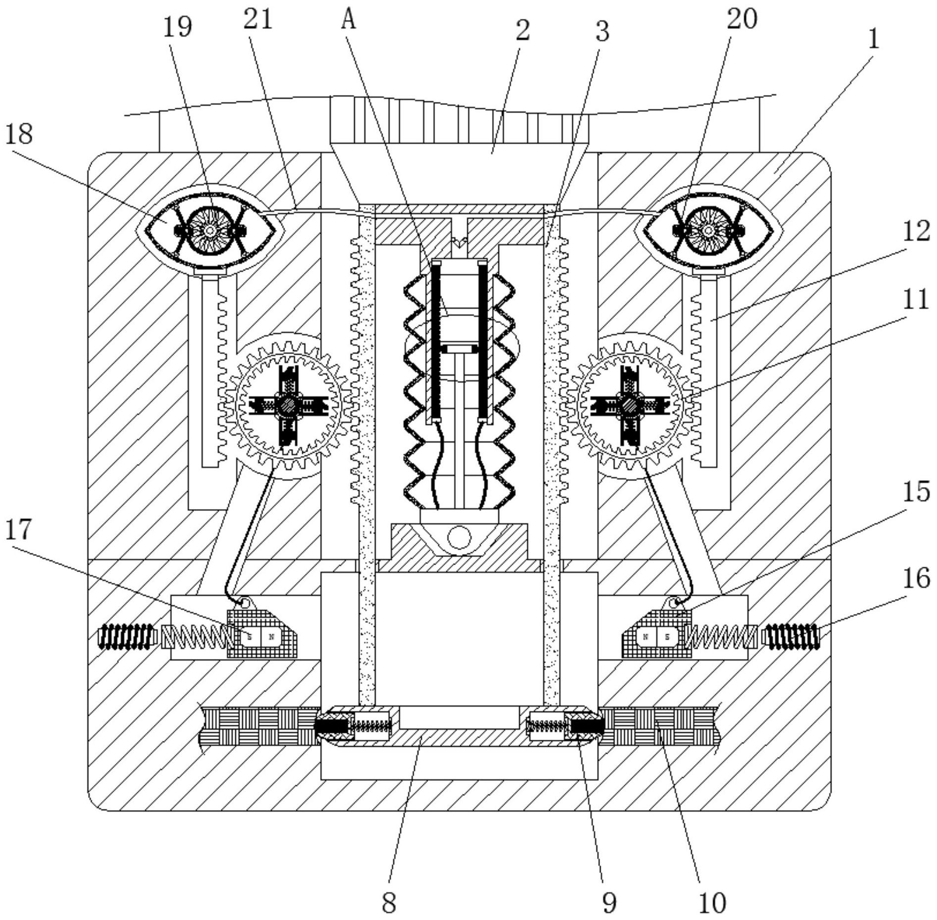
一种智能锁死且自动拉紧的安全带锁定装置
图片尺寸1891x1858
智能门锁的原理和结构解析
图片尺寸640x433
碰锁三维图图纸装配结构简单 tanja碰锁m49生产工艺:切削加工;材质
图片尺寸820x533
一种电子锁的开锁结构
图片尺寸1616x1481