自动翻盖结构图

一种翻盖机构及扫地机器人的制作方法
图片尺寸403x443
自动翻盖结构设计
图片尺寸549x348
一种自动翻盖煮水壶的制作方法
图片尺寸1000x645
一种耳机充电盒的翻盖结构-爱企查
图片尺寸1766x1088
红外感应自动翻盖垃圾桶
图片尺寸337x192
一种冷柜的翻盖结构的制作方法
图片尺寸436x443
摘要附图摘要本实用新型涉及翻盖结构设计技术领域,公开了一种翻盖
图片尺寸1787x1650
一种翻盖机构的制作方法
图片尺寸1000x901
一种箱子的开盖机构,10分的简单,看看他是怎么做的吧
图片尺寸640x406
一种自动合盖的翻盖机构的制作方法
图片尺寸410x444
一种微压差变送器的翻盖结构-爱企查
图片尺寸1383x2016
摘要附图摘要本发明属于翻盖机构结构技术领域,具体涉及一种恒力弹簧
图片尺寸800x538
一种自动翻盖缓冲机构的制作方法
图片尺寸894x1000
一种马桶翻盖执行机构-爱企查
图片尺寸1403x1394
有大神会这里的扭簧翻盖结构不
图片尺寸721x822
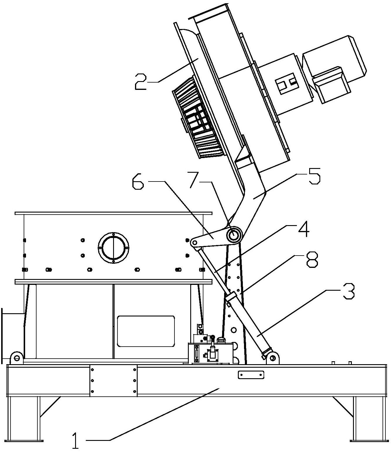
一种新型超微粉碎机液压翻盖机构-爱企查
图片尺寸1338x1544
基于合页式翻盖的密封结构及冲击记录仪的制作方法
图片尺寸1000x844
cn213414811u_一种带安全防护功能的电动推杆翻盖结构有效
图片尺寸1895x1653
垃圾桶自动翻盖装置及包含其的自动贩卖机
图片尺寸1790x2038
一种显示屏翻盖自动开合机构的制作方法
图片尺寸739x1000