自拍杆原理图

手工真皮无线蓝牙自拍杆的介绍与使用方法
图片尺寸500x1087
线控自拍杆原理
图片尺寸475x344
一种自拍杆的制作方法
图片尺寸769x1000
一种补光式自拍杆
图片尺寸1109x1795
防抖动自拍杆的制作方法
图片尺寸1000x591
一种太阳能充电自拍杆
图片尺寸703x808
自拍杆的制作方法
图片尺寸1000x682
一种便于锁紧的手机自拍杆的制作方法
图片尺寸787x1000
一种能选择追踪对象的电动自拍杆
图片尺寸1003x1409
cn204852863u_一种自拍杆失效
图片尺寸761x1000
一种多功能自拍杆的制作方法
图片尺寸1000x493
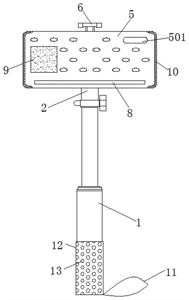
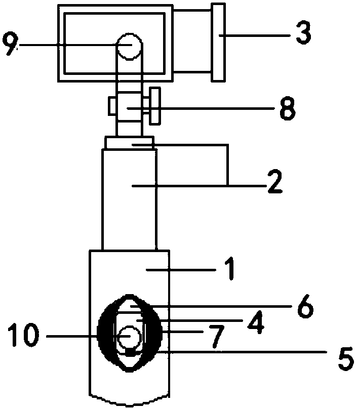
一种带补灯光的自拍杆的制作方法
图片尺寸804x1000
一种便于携带的手机自拍杆的制作方法
图片尺寸539x1000
为何迷恋上帝视角 笑谈手机自拍杆的妙用
图片尺寸600x383
一种手机拍照用自拍杆的制作方法
图片尺寸679x1000
一种自拍杆的制作方法
图片尺寸1000x889
一种具有辅助降温功能的手机自拍杆
图片尺寸631x1000
一种手机直播自拍杆的制作方法
图片尺寸1000x865
全黑一体式可折叠mini自拍杆 蓝牙自拍杆 手机自拍棒
图片尺寸536x4170
一种可照明的自拍杆制造技术
图片尺寸1000x833