船用齿轮箱结构图

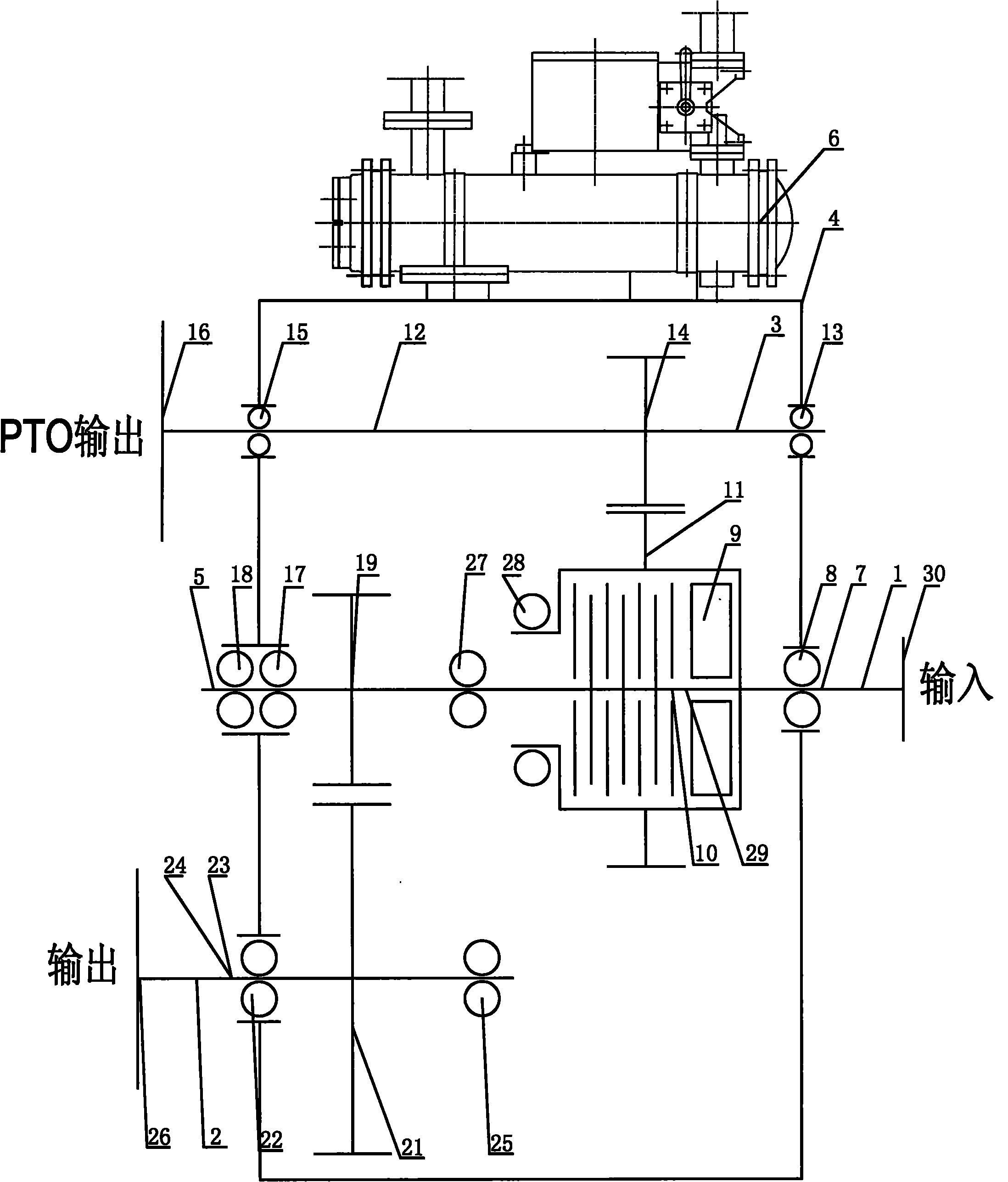
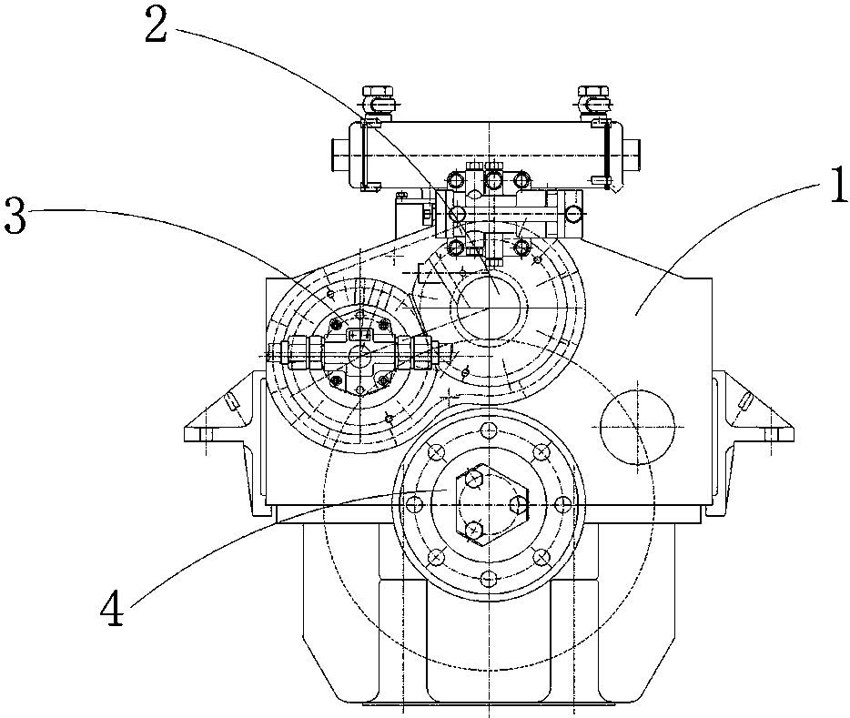
一种双输入多输出并车离合船用齿轮箱
图片尺寸1483x2852
图片尺寸679x961
一种双输入多输出并车离合船用齿轮箱
图片尺寸1461x2301
一种双输入多输出并车离合船用齿轮箱
图片尺寸1495x2629
船用齿轮箱
图片尺寸1127x804
x船用水下齿轮箱结构
图片尺寸1691x2049
一种双输入多输出并车离合船用齿轮箱
图片尺寸1125x750
一种改进型船用齿轮箱
图片尺寸1042x1417
一进两出三离合的船舶用齿轮箱有效
图片尺寸941x1000
一种轻量化重载船用齿轮箱
图片尺寸934x789
轻型高速倾角传动船用齿轮箱
图片尺寸1124x1417
图片尺寸474x600
船员海员考试相关资料-船用齿轮箱的作用
图片尺寸346x276
某船用齿轮箱接排异常撞击声响故障分析与排除
图片尺寸731x566
一进一出船舶用主动齿轮箱有效
图片尺寸775x1000
一级圆柱齿轮齿轮箱 齿轮箱结构及原理 pdm
图片尺寸1080x810
一种与可调螺距螺旋桨匹配的船用齿轮箱
图片尺寸2196x2574
华翔9号南极磷虾船启航 近日,搭载着自主研发的重齿主推船用齿轮箱gv
图片尺寸720x1530
一种滑差离合器船用齿轮箱的制作方法
图片尺寸930x1000
一进一出船舶用主动齿轮箱的制作方法
图片尺寸779x1000