节流阀怎么画

一种带载可调电比例大流量单向节流阀
图片尺寸1522x1867
一种针形节流阀-爱企查
图片尺寸428x529
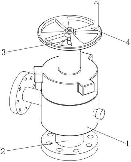
一种海底采油树节流阀的制作方法
图片尺寸784x1000
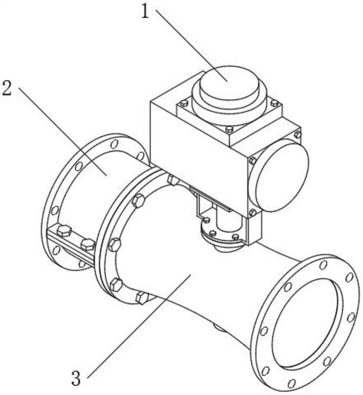
一种可调节的电动节流阀-爱企查
图片尺寸735x800
cn213541437u_一种固定式节流阀有效
图片尺寸1744x1908
污水节流阀
图片尺寸1438x1303
节流阀和单向节流阀两张图的区别
图片尺寸1404x1574
一种针形节流阀的制作方法
图片尺寸428x529
节流阀(4)-爱企查
图片尺寸976x1000
比例节流阀-爱企查
图片尺寸679x800
一种具有过滤功能节流阀-爱企查
图片尺寸800x544
cn213332718u_一种静音节流截止放空阀有效
图片尺寸1620x1662
一种高压节流阀的制作方法
图片尺寸443x405
一种节流稳定的针式节流阀的制作方法
图片尺寸485x1000
cn111895118a_一种新型可截止直通式笼套节流阀在审
图片尺寸475x733
节流阀的结构原理如图5.17所示.
图片尺寸357x389
京滨节流阀
图片尺寸1100x1100
isc节流阀标准型
图片尺寸709x741
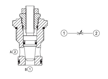
单向节流阀
图片尺寸334x492
od210103750000 r901109837节流阀 nv16-20
图片尺寸460x336