芯轴仪

芯轴弯曲测试仪sa564
图片尺寸500x500
供应轴承检测仪h902(图)
图片尺寸700x466
批发供应 iec60950 芯轴试验仪 iec61558图6绝缘带耐磨
图片尺寸1127x1690
芯轴试验装置
图片尺寸532x800
供应gf2819型车轴卸荷槽或轴颈根部锈蚀深度测量仪(数显)铁路专用
图片尺寸750x750
怎么检测电机转轴加工内部的温度呢?
图片尺寸960x544
芯轴仪
图片尺寸220x220
同心度测量仪,轴承测量仪,同轴度测量仪
图片尺寸772x513
200nm轴芯扭转强度试验机轴芯扭断力测试机芯轴扭矩测试仪参数
图片尺寸1920x1878
无锡天水轴仪直销轴承振动噪音检测仪x093/bvt-6及芯轴
图片尺寸270x270
跳动检查仪偏心轴偏摆仪校准检定标准芯轴定金
图片尺寸350x309
厂家直销轴承检查仪轴承检测仪,轴承振动检测仪b013/bvt-6及芯轴
图片尺寸601x435
标准芯轴偏心轴阶梯刻线心轴奥本aubat跳动检查仪扩项建标校准
图片尺寸270x270
膨胀系数
图片尺寸1000x1000
一套压紧装置,一个平面圆环试样夹持器,一个固定摩擦轮的芯轴臂杆,一
图片尺寸640x427
国产联轴器同心度测量仪lsdz-2,,国.
图片尺寸684x514
操作界面:7寸彩色触摸屏,中英文切换;恒温槽:0-99度可任意设置;芯轴
图片尺寸3840x2683
bdg同心度测量仪同轴度仪测试仪0.
图片尺寸800x800
立方通达-北京动三轴-北京动三轴批发
图片尺寸600x500
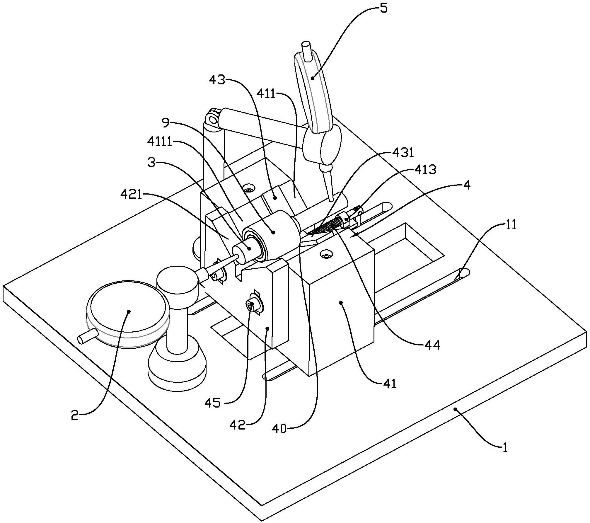
包括基板,轴向游隙检测表,芯轴及轴承固定工装,轴向游隙检测表的表头
图片尺寸2014x1785