芳烃抽提装置

中国石化茂名分公司55万吨年芳烃抽提装置
图片尺寸675x900
图为运行中的55万吨∕年芳烃抽提装置
图片尺寸700x467
茂名石化46万吨/年芳烃抽提装置
图片尺寸2048x1536
芳烃抽提工艺仿真模拟演示装置
图片尺寸640x480
67嘉兴美福石化40万吨年芳烃抽提装置
图片尺寸400x270
芳烃抽提
图片尺寸552x315
中国石化九江分公司芳烃抽提装置节能改造获成功
图片尺寸324x269
乙烯 35 万吨/年芳烃抽提装置图 生产工艺
图片尺寸1031x760
连续重整芳烃抽提联合装置模型 芳烃抽提装置模型 芳烃精馏装置模型
图片尺寸950x712
芳烃抽提装置的标定及其分析
图片尺寸800x496
芳烃抽提装置问题分析及优化措施
图片尺寸500x438
新启元公司改革创新系列报道一运行一部芳烃抽提装置节能增效操作优化
图片尺寸864x1152
连续重整芳烃抽提联合装置模型 芳烃抽提装置模型 芳烃精馏装置模型
图片尺寸900x675
芳烃抽提
图片尺寸680x452
乙烯35 万吨/年芳烃抽提装置简易流程图
图片尺寸640x250
中石油xx石化芳烃抽提装置脱氯项目
图片尺寸900x500
芳烃抽提蒸馏装置流程图
图片尺寸1596x1085
芳烃抽提芳烃抽提的原理和目的,抽提装置图,芳烃抽提的液液抽提,芳烃
图片尺寸640x379
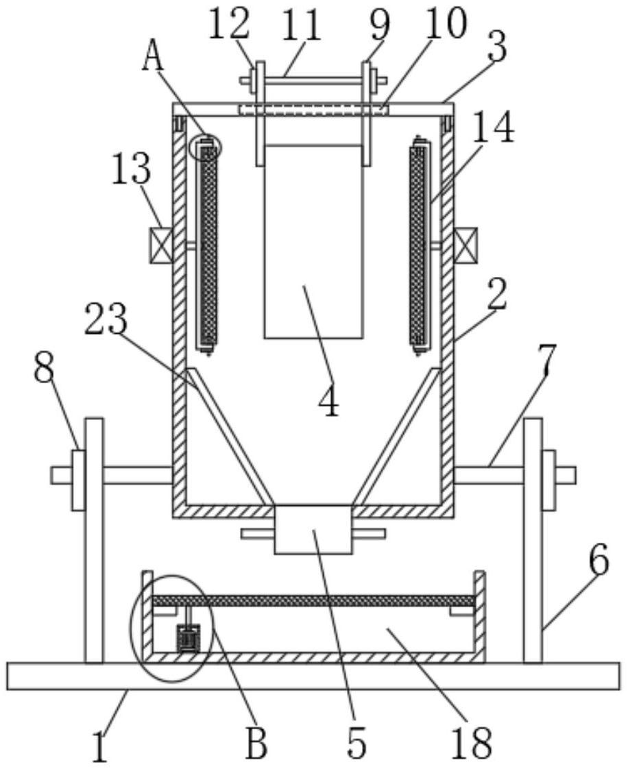
一种慢性油漆用芳烃抽提装置
图片尺寸1610x1350
一种能够回收利用蒸馏塔顶水的芳烃抽提装置-爱企查
图片尺寸916x1122