范立云

范立云总经理在会上就云南移动发展情况作介绍,并对昆明学院领导,师生
图片尺寸700x476
专家答疑区
图片尺寸2832x4256
范立云
图片尺寸3226x2420
我校与昆明移动公司签署智慧校园合作协议
图片尺寸700x484
赵超&范立云
图片尺寸1120x1680
(昆明移动党委书记,总经理范立云)昆明移动副总经理杨飞涛在表彰会议
图片尺寸619x373
中国移动通信集团云南有限公司昆明分公司总经理范立云致辞
图片尺寸640x426
酒店实务英语 范立云 著作
图片尺寸500x500
超级学习法2000
图片尺寸402x591
云南广播电视台与云南移动战略合作暨云南移动iptv产品发布会举行
图片尺寸1080x720
(附光盘21世纪高职高专规划教材)/旅游酒店类系列范立云北京交通大学
图片尺寸600x754
动力装置电控技术研究所党支部现有党员16人,范立云教授任支部书记.
图片尺寸1223x905
中国风情【正版图书,放心购买】
图片尺寸542x800
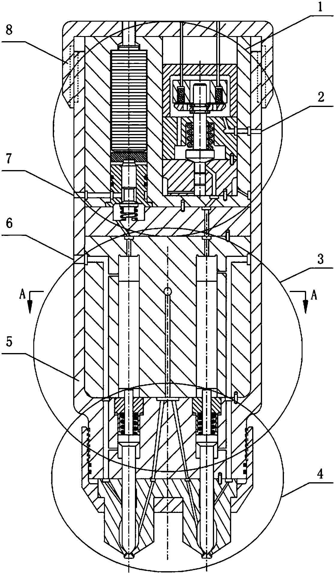
范立云教授团队的"带蓄压腔式船用重油电磁控制喷油器"发明专利获得
图片尺寸600x400
张光明的介绍
图片尺寸800x533
学报》2013年第5期609-614,共6页 田丙奇马修真范立云宋恩哲王昊白云
图片尺寸970x1349
专利详情
图片尺寸1114x1907
cn102678410a_基于发动机柔性喷油的凸轮有效
图片尺寸1629x1647
国际茶日 | 匈牙利朋友说:"we love the tea "
图片尺寸960x432