茶宠简笔画

茶杯狗简笔画的画法
图片尺寸800x450
国潮ip茶宠五神兽金蟾
图片尺寸1080x1080
茶杯里的小狗简笔画
图片尺寸750x500
茶杯犬怎么画茶杯犬简笔画步骤
图片尺寸600x330
茶杯泰迪犬的简笔画
图片尺寸720x480
茶杯犬的简笔画
图片尺寸500x535
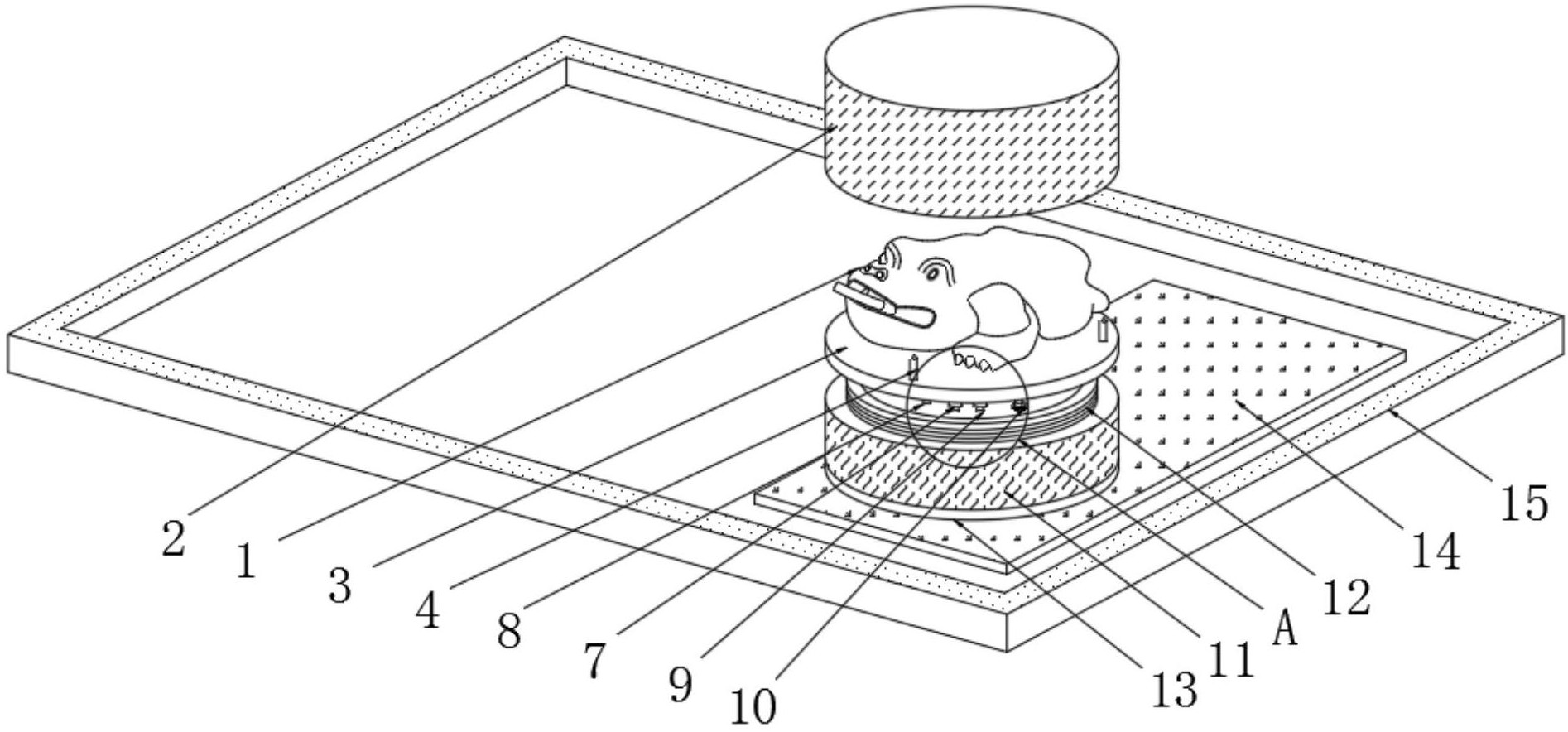
一种多功能的金蟾茶宠-爱企查
图片尺寸1894x884
茶杯犬简笔画可爱
图片尺寸500x706
茶杯中的小狗要如何画可爱茶杯犬简笔画大全
图片尺寸800x800
茶杯狗的简笔画又简单又漂亮
图片尺寸800x450
茶宠
图片尺寸688x670
可爱的茶杯狗简笔画
图片尺寸900x600
可爱的茶杯狗简笔画
图片尺寸900x600
茶杯狗可爱简笔画可爱
图片尺寸500x1021
一种多功能的金蟾茶宠的制作方法
图片尺寸1000x466
茶宠设计图本次活动形式多样,同学们可以通过电脑设计,画图及手工制作
图片尺寸549x390
茶宠摆件招财貔貅紫砂茶桌茶盘茶台茶具配件茶玩宠物可养金蟾
图片尺寸750x613
一种带有燃香功能的变色茶宠的制作方法
图片尺寸1000x620
可爱小猫和一杯绿茶可爱简笔画
图片尺寸800x533
动物手账简笔画 喝茶的沙皮狗
图片尺寸900x600