董京营

国网山东电力公司副总经理 董京营
图片尺寸800x533
董京营一行莅临集团调研
图片尺寸547x365
董京营一行莅临集团调研
图片尺寸547x365
董京营一行莅临集团调研
图片尺寸547x365
好消息山东新建小区停车位全部配建充电桩
图片尺寸640x309
滨州市政府与国网山东省电力公司签署战略合作框架协议
图片尺寸473x484
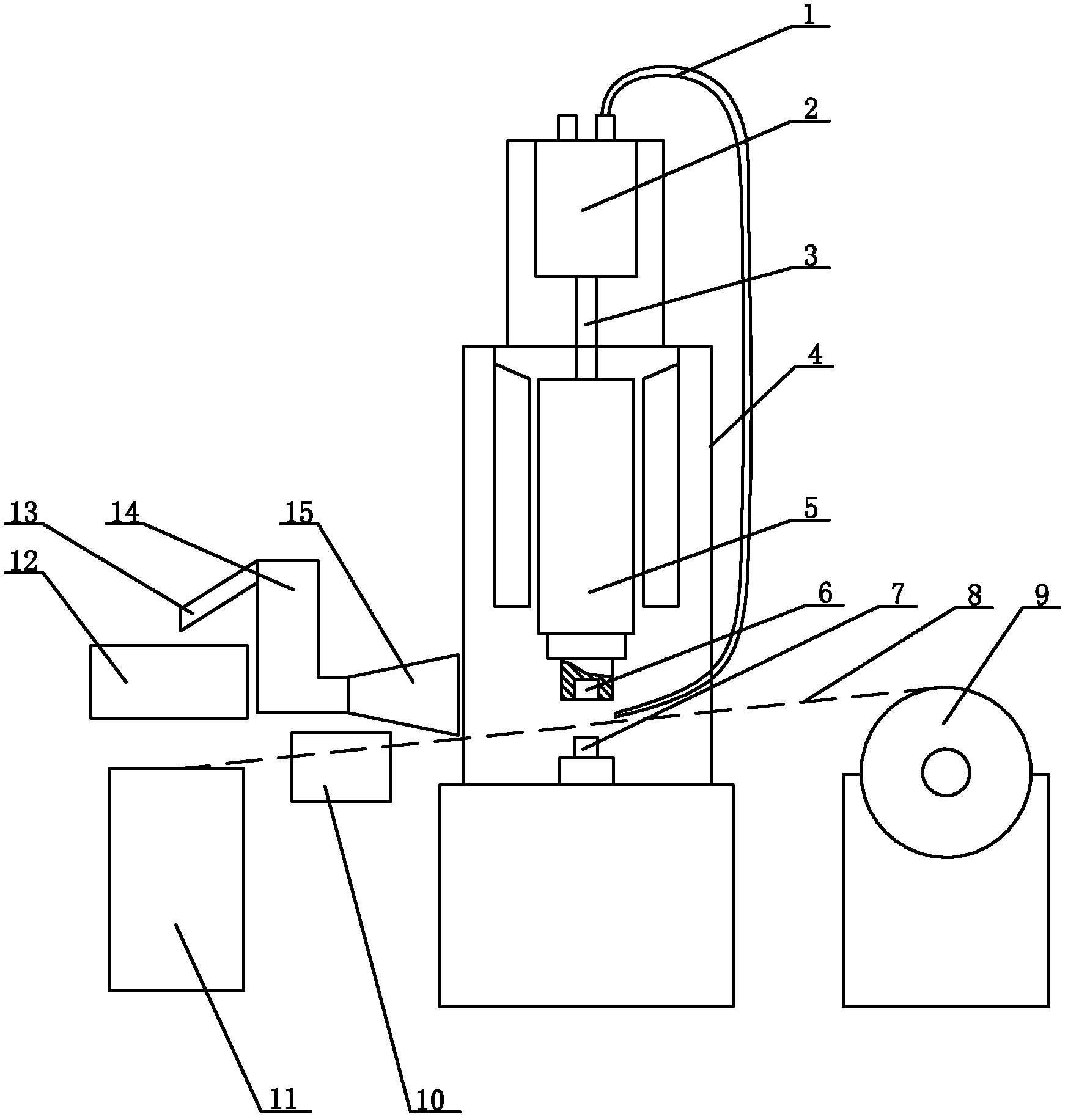
药用铝盖成型机组
图片尺寸1747x1833
国网山东省电力公司副总经理董京营介绍,为加强电动汽车推广应用,更
图片尺寸750x499
国网山东电力公司副总经理董京营
图片尺寸550x365
山东电力交易中心股份制改造实现阶段性目标_工作
图片尺寸550x366
公司与达州市签订战略合作协议
图片尺寸680x347
2020年驻马店市重点排污单位名单
图片尺寸640x427
董京营表示,开展"e起节电"系列主题活动,是贯彻落实党的二十大"实施
图片尺寸650x433
资阳市第二届人大常委会举行第十二次会议
图片尺寸540x319
国网山东省电力公司副总经理董京营代表双方签署了战略合作框架协议
图片尺寸550x367
答记者问 | 电动汽车用户只需下载"齐鲁e充"app
图片尺寸1080x720
国网山东省电力公司副总经理董京营代表双方签署了战略合作框架协议
图片尺寸550x399
林红玉同志陪同国家电网山东电力公司副总经理董京营一行到三元朱村
图片尺寸1080x810
董京营赴绵阳公司,江油500千伏变电站慰问一线员工在技培中心实训基地
图片尺寸680x453
鲁商集团与国网综合能源服务集团签署战略合作协议
图片尺寸1080x715