虎钳草图

一种接杆式精密虎钳的制作方法
图片尺寸518x412
机用虎钳设计计划书
图片尺寸894x607
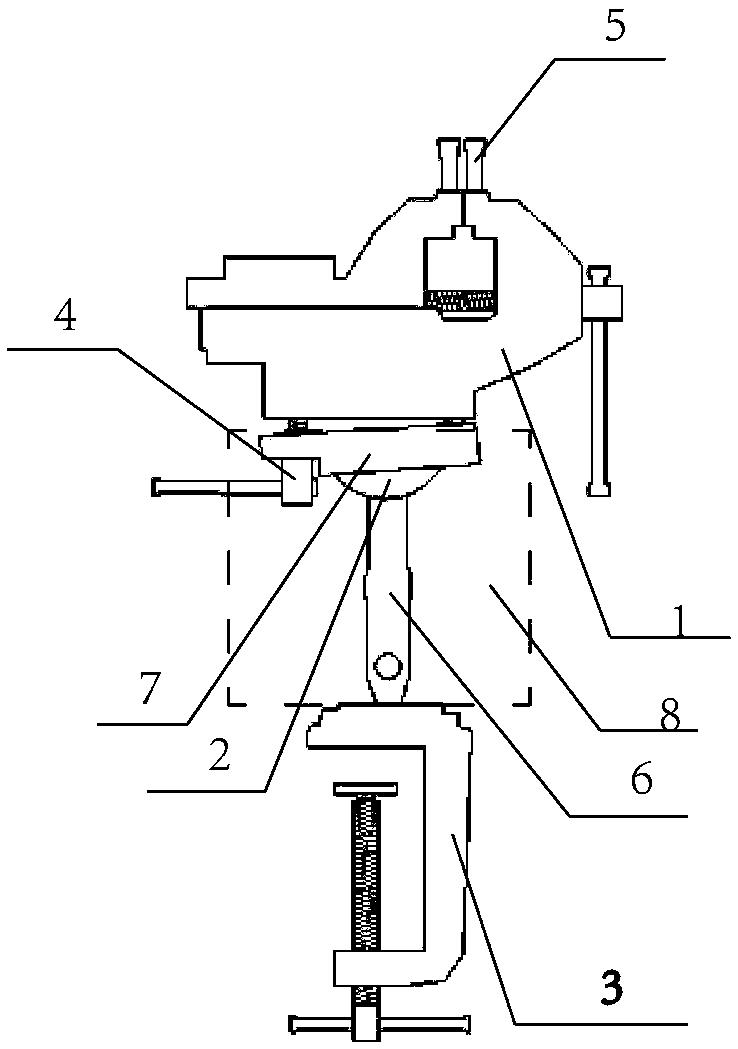
虎钳装配图
图片尺寸929x730
cn2280590y_快速释放的虎钳失效
图片尺寸936x709
一种应用于刀具加工的虎钳的制作方法
图片尺寸1000x662
虎杖,全野生货,药用价值高
图片尺寸366x379
虎耳草插画图片素材
图片尺寸1600x1600
虎钳装配图ppt
图片尺寸1080x810
磨床虎钳图纸
图片尺寸1280x904
便携式台虎钳
图片尺寸738x1049
一种虎钳的制作方法
图片尺寸444x327
虎杖reynoutriajaponicahoutt
图片尺寸968x1410
台虎钳
图片尺寸764x826
虎杖的简笔画
图片尺寸500x703
通用机械虎钳
图片尺寸300x225
机用虎钳ug,cad图纸
图片尺寸731x493
虎杖
图片尺寸1535x2170
虎钳的装配
图片尺寸641x327
项目八 识读机用虎钳装配图ppt
图片尺寸1080x810
台虎钳设计与改造毕业设计论文澳.doc 35页
图片尺寸434x375