蜗轮减速机结构图

使用历史话题 向ta提问私信ta wpa蜗轮减速机结构图与上图结构一致
图片尺寸1403x1200
求助各位大神wpa-80单极涡轮减速机的详细拆装过程和零部件名称.
图片尺寸654x480
wp系列蜗轮蜗杆减速机内部结构图
图片尺寸720x1195
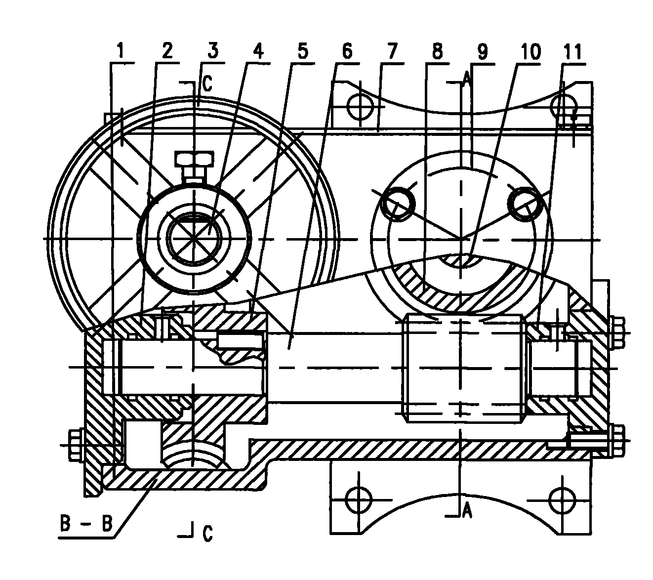
单级蜗轮蜗杆减速器装配图.pdf
图片尺寸1135x822
单级蜗轮蜗杆减速器装配图
图片尺寸800x1105
cn2156340y_双级蜗轮减速器失效
图片尺寸2144x1696
wp蜗轮减速机结构图
图片尺寸1920x1093
准双曲面减速机tkm28/tkm38/tkm48/tkm58可替代蜗轮蜗杆变速器
图片尺寸750x750
一级蜗轮蜗杆减速器【cad装配图】.zip
图片尺寸2338x1653
蜗轮蜗杆减速机的主要特点是具有反向自锁功能,可以有较大的减速比
图片尺寸714x476
铸铁蜗轮蜗杆减速机解剖,结构图,东莞台机减速机
图片尺寸670x564
rv蜗轮蜗杆减速机结构图
图片尺寸599x716
bwd14a-29-11kw带法兰电机减速机减速器bwd摆线减速机bwd14a-阿里巴巴
图片尺寸1405x1919
蜗轮蜗杆减速机总成
图片尺寸646x532
蜗轮蜗杆减速机在
图片尺寸640x355
蜗轮蜗杆减速机原理
图片尺寸440x608
wp蜗轮蜗杆减速机选型尺寸
图片尺寸640x454
cwu蜗杆减速机结构图
图片尺寸639x513
wpa蜗轮蜗杆减速机
图片尺寸659x355
一种双蜗轮蜗杆减速机,采用两级蜗轮蜗杆传动的结构,即皮带轮带动一级
图片尺寸1322x1174