袋结构

手提袋结构
图片尺寸701x2315
便于装卸,搬运,具有防潮,防尘,防霉,堆放方便,安全牢固,容积大,结构
图片尺寸900x1147
包袋工业吊包1吨2吨太空袋吨袋桥梁预压包污泥吨包袋
图片尺寸800x800
一种手提袋结构的制作方法
图片尺寸1000x942
pepa尼龙复合塑料袋 茶叶海鲜水产塑料袋 设计logo彩印真空包装袋
图片尺寸790x528
一种双层内部结构的包装袋
图片尺寸1800x2000
中心 03 枕芯包装袋-青岛包装袋-河北东硕包装 软袋结构可定制
图片尺寸800x864
cn201375123y_一种无纺布制成的袋子失效
图片尺寸1304x1232
一种新型八边封纸塑开窗袋的制作方法
图片尺寸1000x996
一种袋子的制作方法
图片尺寸851x1000
立体贴袋的制作工艺ppt
图片尺寸1080x810
厂家直销 opp袋 透明卡头袋 饰品opp自粘袋定制 塑料包装袋 定制
图片尺寸750x467
一种多功能手提袋的制作方法
图片尺寸996x1000
一种包装袋的制作方法
图片尺寸968x1000
一种多功能手提袋制造技术
图片尺寸789x1000
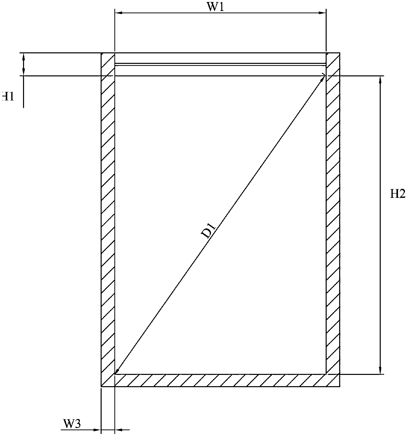
包括袋体,袋体上端为开口结构,袋体底部形状为矩形,袋体底部的前后
图片尺寸1772x1537
一种透气型集装袋的制作方法
图片尺寸844x1000
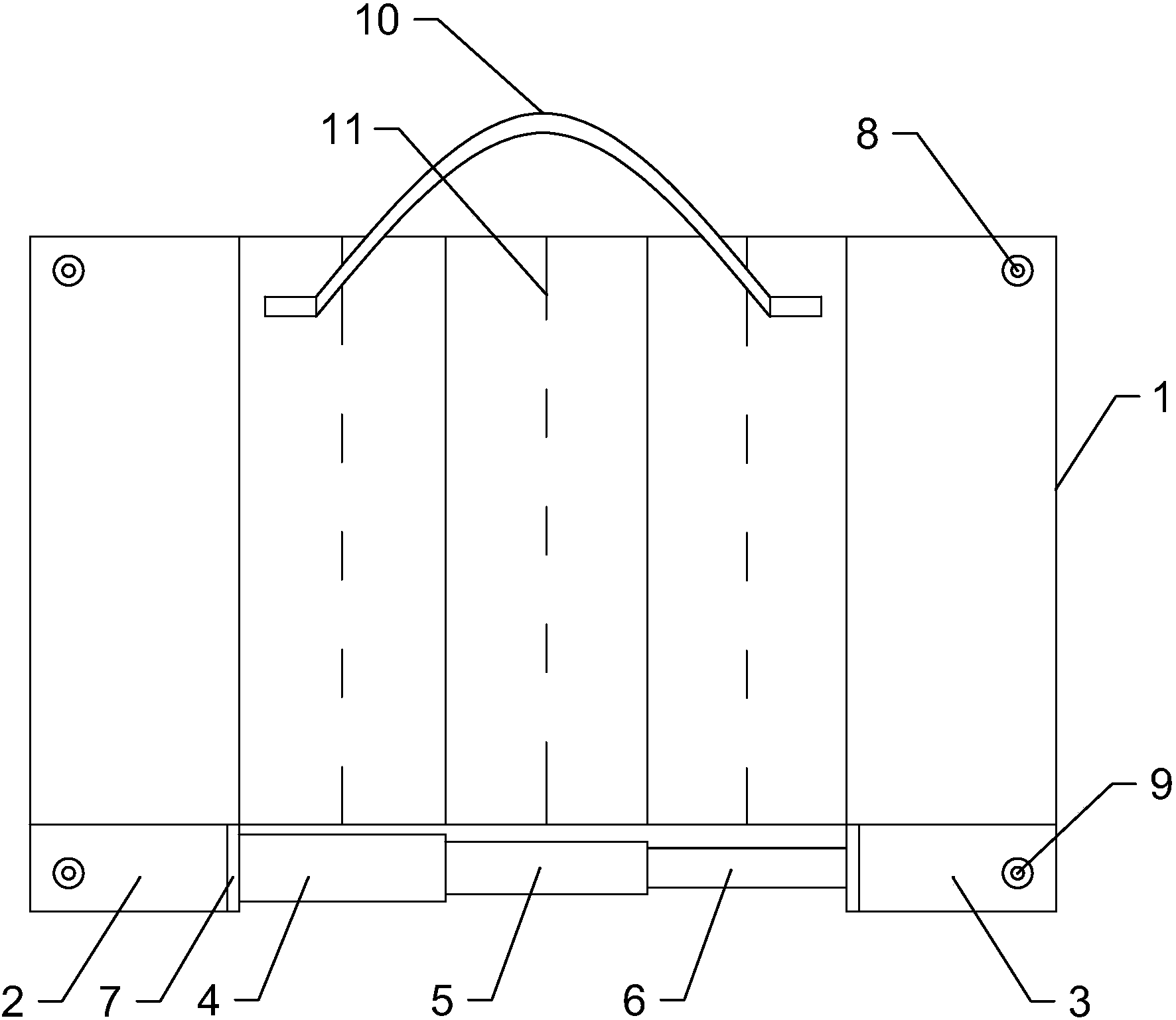
构成袋体的袋层, 封口, 袋体的侧面呈""形, 袋层 为复合层结构, 该
图片尺寸284x360
手提式包袋两用结构制造技术
图片尺寸504x1000
具有复合结构的自封袋
图片尺寸1630x1741