袜机穿线教程

袜子创业你需要知道的一些小知识6
图片尺寸1080x1441
供应特种织机【生产制造伟盈全电脑袜机:平板毛圈双路进线移圈】
图片尺寸764x974
该机主要缝制质地较硬的袋类,其特点是上下同步,复合送料,使其线迹不
图片尺寸1024x707
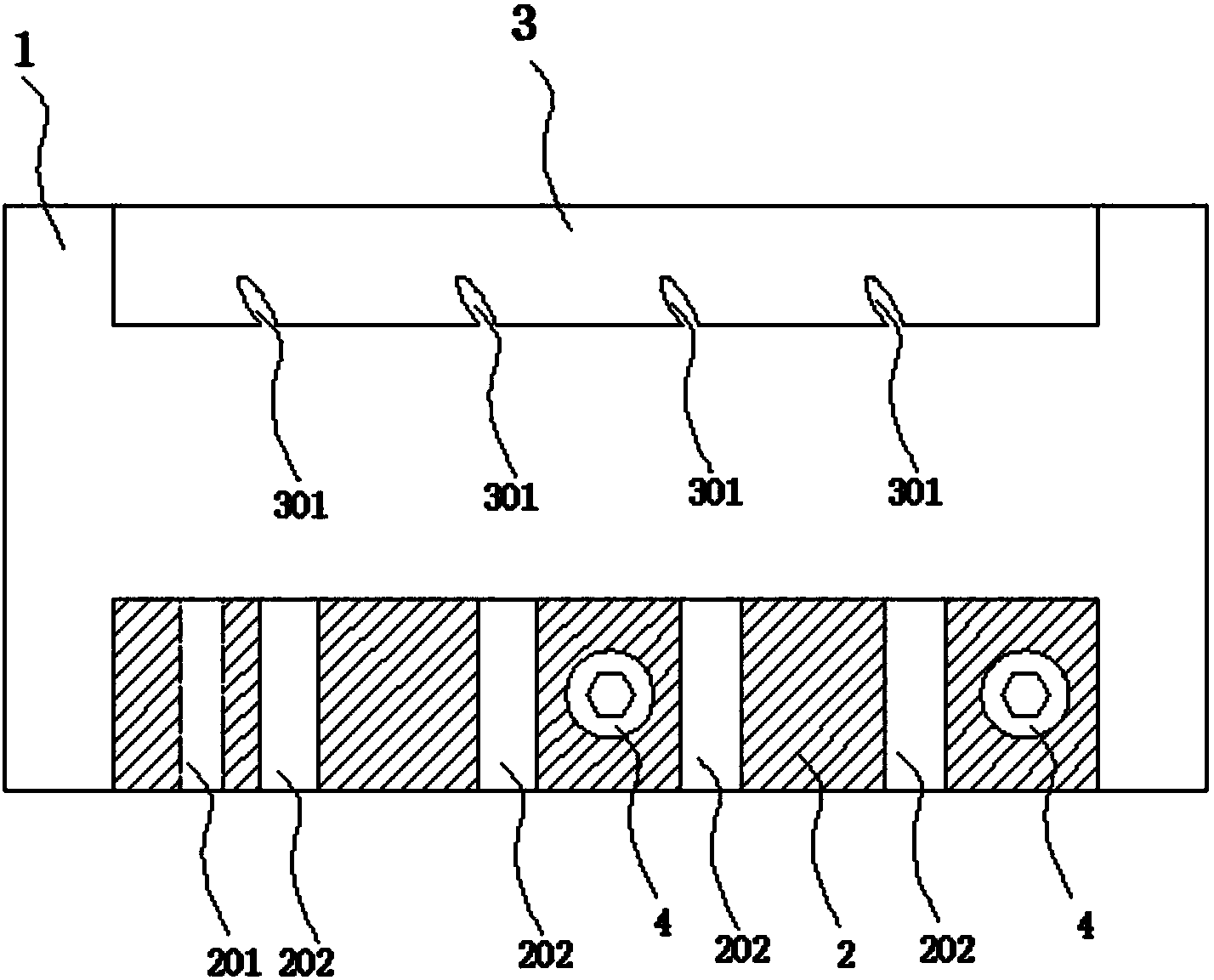
cn201031297y_织袜机织线松紧装置失效
图片尺寸1121x925
优衣库袜子这些统统10元哦后面还有凉感t恤
图片尺寸1080x1439
蓝色的锁边线迹怪怪的到底哪里不对00
图片尺寸1080x810
演出服出租常平镇演出服出租收费标准2024新租赁加工
图片尺寸501x410
芙蓉牌全自动电脑织袜机 8/9寸口径 18路进线 做裤袜产品
图片尺寸600x800
涡流纺色纺纱主要用于大小圆机和袜机上,使产品具有抗起球的功能,在
图片尺寸1024x682
【转卖】袜子缝头机
图片尺寸960x1280
全自动电脑织袜机 五指袜机 织袜机 带跟五指袜机 电脑织袜机
图片尺寸1349x1920
织袜机(c)
图片尺寸672x1234
一种穿线孔可调式针织袜机的制作方法
图片尺寸443x394
芙蓉牌全自动电脑袜机 8寸口径 18路进线 做裤袜产品
图片尺寸931x1254
织袜机
图片尺寸816x900
织袜机开足马力,工人争分夺秒,每天有50万双棉袜从这里流向世界各地.
图片尺寸1000x623
全自动穿套管绕线机卷绕线包挡墙胶带安规变压器多功能自动化生
图片尺寸1279x1279
袜机挑针穿线孔加工装置
图片尺寸1428x1153
袜机传动结构
图片尺寸1754x1922
织袜机第三代全电脑织袜机
图片尺寸750x1000