襟翼系统

飞行原理减升装置
图片尺寸1378x558
航空——襟翼,逢翼,副翼,扰流板
图片尺寸690x350
飞机上的襟翼缝翼副翼扰流板各自的作用是什么
图片尺寸540x389
浅述飞控襟翼系统
图片尺寸1024x733
飞机的襟翼,缝翼,副翼等有什么区别?各自的作用是什么? - 石塘网
图片尺寸640x399
现在在飞机起飞的时候是不是只要向后拉杆就行了为啥
图片尺寸562x324
襟翼:边学习边设计我的sbd
图片尺寸619x531
cn105523173a_一种通用飞机襟翼控制系统失效
图片尺寸1000x711
头条问答 - 飞机在降落的时候放大角度襟翼增加阻力的原理是什么?
图片尺寸549x302
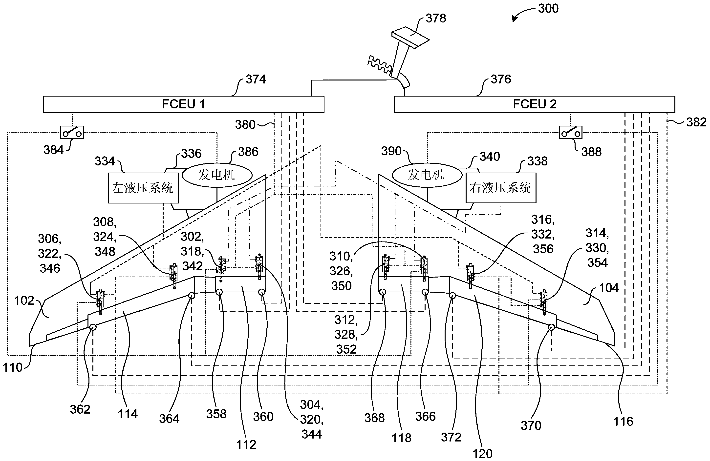
分布式后缘机翼襟翼系统
图片尺寸2873x1867
小船里的小秘密关于后缘襟翼的7条冷知识
图片尺寸1080x686
展开全部 飞机翼下一根根的东西是,飞机的襟翼导轨!
图片尺寸450x268
具有可展开襟翼的飞机机翼的制作方法
图片尺寸1000x524
航空英语翻译干货蒙皮skin翼弦chord襟翼flap引发的航空术语学习
图片尺寸516x487
这是波音737的驾驶舱,把手上面写了flap字样的就是襟翼控制杆.
图片尺寸720x431
对外侧副翼,一对襟副翼,七对扰流板,以及前缘缝翼,后缘襟翼等增升装置
图片尺寸1189x781
b737 前缘襟翼和缝翼正常操作及功能;备用系统;b737失速情况下的系统
图片尺寸574x295
对外侧副翼,一对襟副翼,七对扰流板,以及前缘缝翼,后缘襟翼等增升装置
图片尺寸640x420
猎鹰飞行俱乐部:秘密,空专业词汇大揭秘!
图片尺寸500x326
富勒襟翼动作原理
图片尺寸1152x720