调味瓶设计草图

矢量,调味品,瓶子
图片尺寸350x350
草图乱画瓶子设备用品标志配方厨房器具烹调用具食品调味品食盐香料
图片尺寸1600x1600
调味品瓶的矢量集
图片尺寸700x700
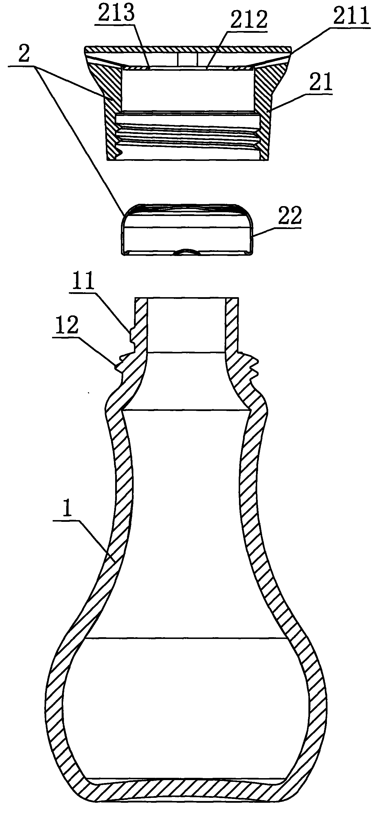
一种可称重型家用调味瓶
图片尺寸1716x1965
手绘调味瓶
图片尺寸610x610
向量集的调味品瓶插画
图片尺寸300x300
调料瓶,调味罐,厨房,烹饪,手绘
图片尺寸1200x1655
厨房调料瓶简笔画步骤图
图片尺寸900x600
「工业基础篇」 厨房用品设计——调味瓶 - 知乎
图片尺寸1080x1559
一套调味瓶
图片尺寸1100x1100
手绘调料瓶
图片尺寸610x610
向量集的调味品瓶
图片尺寸700x700
「工业基础篇」 厨房用品设计——调味瓶 - 知乎
图片尺寸1080x1391
cn201438937u_一种调味瓶有效
图片尺寸1348x2832
一种调味瓶制造技术
图片尺寸825x1000
液体调味瓶(一)
图片尺寸628x972
集调味品瓶
图片尺寸1100x1100
线描调料瓶矢量元素素材格式_设计素材免费下载_vrf高清图片400308196
图片尺寸562x562
可控油量的调味瓶 - cn201610625122.
图片尺寸638x910
食品瓶线稿
图片尺寸610x515