谷坊示意图

谷坊典型设计
图片尺寸1191x842
泵站防护谷坊结构图
图片尺寸520x360
要想懂谷坊从这7方面入手
图片尺寸517x274
神奇的谷坊你知道吗
图片尺寸534x205
谷坊工程设计cad图纸
图片尺寸321x220
谷坊典型设计
图片尺寸509x198
一种复合式谷坊水土保持方法与流程
图片尺寸1000x538
一种预制件谷坊及其制备方法和使用方法与流程
图片尺寸1000x574
要想懂谷坊从这7方面入手
图片尺寸453x320
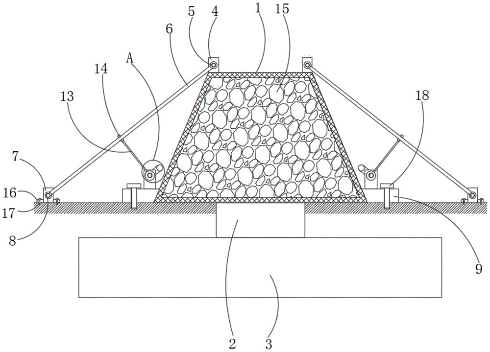
一种格宾网谷坊
图片尺寸1000x719
谷坊工程设计cad图纸
图片尺寸313x220
一种预制件谷坊
图片尺寸1843x1059
一种用于小流域综合治理的钢筋石笼谷坊的制作方法
图片尺寸462x423
沟道治理(谷坊)鸟瞰图
图片尺寸600x337
一种格宾网谷坊_cn201820344191.7_知雀网
图片尺寸1000x719
新微专题地理视角看溯源侵蚀
图片尺寸540x384
【每日一题】(1470)石谷坊与柳谷坊
图片尺寸761x293
谷坊
图片尺寸198x220
一种胶结土谷坊的制作方法
图片尺寸443x390
淤地坝和谷坊
图片尺寸966x598