赛车怎么画尾翼

xcar汽车试衣间8加装尾翼莫要东施效颦
图片尺寸908x605
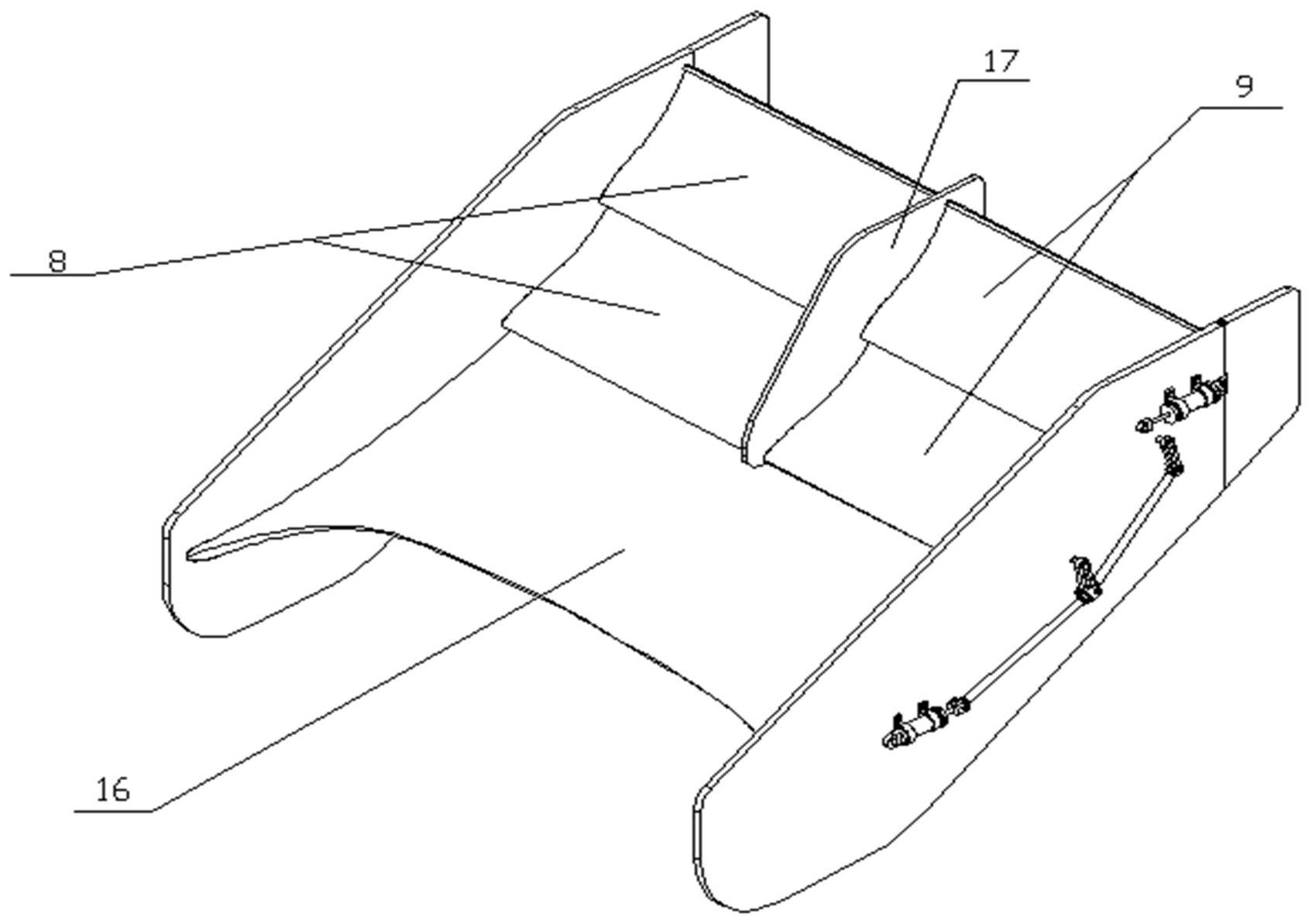
一种方程式赛车全工况自适应可调尾翼装置及方法
图片尺寸1694x1193
鲨鱼鳍型fsae赛车尾翼的制作方法
图片尺寸1000x458
方程式赛车怎么画
图片尺寸682x682
比拉力赛车,真还得看斯巴鲁,这车我感觉不输911
图片尺寸720x480
赛车尾部简笔画
图片尺寸500x707
儿童车尾翼(619)
图片尺寸1384x686
5升v8发动机/雪佛兰首款gt3赛车,科尔维特z06 gt3.r官图-蜗牛号
图片尺寸640x360
90 992 gt3 cup 纯赛车血统91 尾翼实在是大!"992
图片尺寸1080x1350
儿童车尾翼(619)
图片尺寸636x722
儿童车尾翼(619)
图片尺寸652x726
大众甲壳虫 grc 赛车发布】这款拉力赛车配备高耸的尾翼
图片尺寸440x889
竞速赛车尾翼一般分单层尾翼和双层尾翼两种,同时也分为手动调校和
图片尺寸908x605
兰博基尼huracan gt3 evo2赛车亮相,外观真凶悍
图片尺寸1920x1080
东风风神赛车学院开营 毕业拿赛照开赛车_运动_汽车_动力
图片尺寸630x473
大众赛车polo测面铅笔画怎么画
图片尺寸500x321
将宝马7系改成赛车,谁说不可以?_搜狐汽车_搜狐网
图片尺寸1920x1080
其余的升级包括roush尾翼,福特perfomance前段赛车扰流板,2020款福特
图片尺寸1920x1080
领克03改装件博瑞赛车尾翼奕炫定风翼 星瑞缤瑞 帝豪gl飞机翼通用跑车
图片尺寸790x593
本周末的 将是无尾翼赛车的最后一场比赛_赛百灵社区_易车社区
图片尺寸1440x1800