车修壁虎安装示意图

厂家现货供应膨胀螺丝镀锌车修壁虎 车修膨胀m6-m16
图片尺寸800x434
车修壁虎,一种特殊的膨胀螺栓,它的螺纹比较长,安装比较容易,常用于
图片尺寸2142x1280
什么是车修壁虎?
图片尺寸800x800
不锈钢车修壁虎电梯膨胀螺丝电梯专用膨胀螺丝膨胀螺栓
图片尺寸800x983
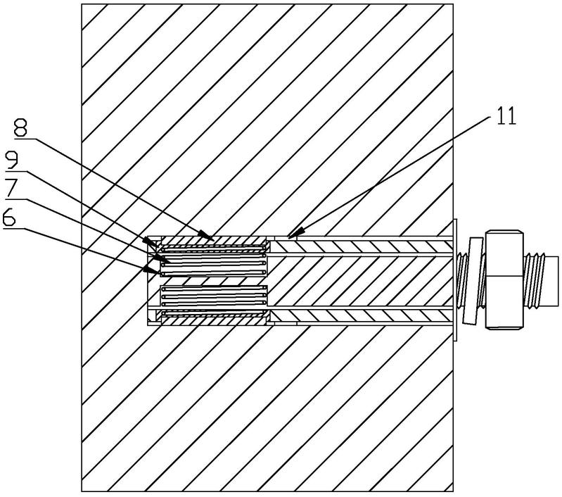
一种便于安装的车修壁虎的制作方法
图片尺寸583x388
车修壁虎
图片尺寸1440x1920
车修壁虎为什么叫车修壁虎? 其实车 - 抖音
图片尺寸750x750
车修壁虎
图片尺寸1182x887
车修壁虎
图片尺寸4288x2848
车修壁虎
图片尺寸1836x3264
车修壁虎
图片尺寸1027x770
一种便于安装的车修壁虎-爱企查
图片尺寸799x706
车修壁虎
图片尺寸500x240
正宗不锈钢304车修壁虎膨胀钉 拉爆攀岩钉 膨胀螺丝膨胀栓 m6-m20
图片尺寸790x523
车修壁虎为什么叫车修壁虎?
图片尺寸1707x1280
车修壁虎为什么叫车修壁虎?
图片尺寸1707x1280
螺栓lg型gb22795-2008标准的参考示意图,了解车修壁虎的用法强度等级
图片尺寸668x377
车修壁虎为什么叫车修壁虎?
图片尺寸1707x1280
车修壁虎 镀锌电梯用汽车膨胀车修拉爆膨胀 碳钢车修壁虎,s7 8*65
图片尺寸800x944
车修壁虎 ,不走捷径,专注国标,良心制造. - 抖音
图片尺寸1920x1440